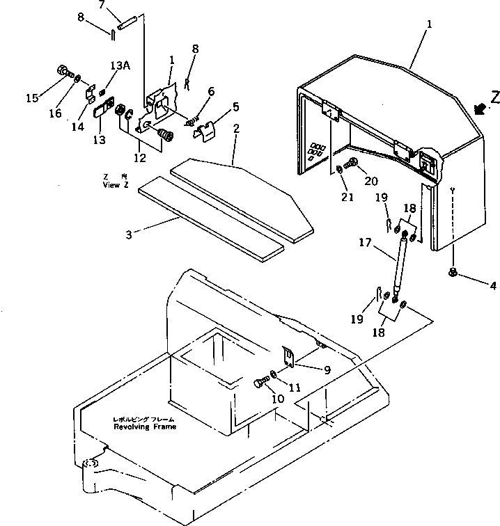
Запчасти Komatsu PC05-6 КАБИНА(№-) ЧАСТИ КОРПУСА

Схема запчастей Komatsu PC05-6 - КАБИНА(№-) ЧАСТИ КОРПУСА
FIT
1:1
100%

Артикул

Название

Примечание

Количество

|$0

20M-54-62101

HOOD ASS'Y

1

HOOD

2

20W-54-12131

SHEET

3

20W-54-12141

SHEET

4

20W-54-12210

STOPPER

5

20S-54-25130

LEVER

6

20T-54-26430

SPRING

7

20S-54-21460

PIN

8

04050-13018

PIN,COTTER

9

20W-54-12220

LOCK

10

01010-50825

BOLT

11

01643-30823

WASHER

12

20N-54-41830

LOCK ASS'Y

13

20R-54-23240

PLATE

13A

20N-54-47290

SHIM

14

20W-54-12230

COVER

15

01010-50812

BOLT

16

01643-30823

WASHER

17

20M-54-31180

SPRING

18

01640-20816

WASHER

19

04052-10833

PIN,SNAP

20

01010-51025

BOLT

21

01643-31032

WASHER

Выбрано товаров: 23