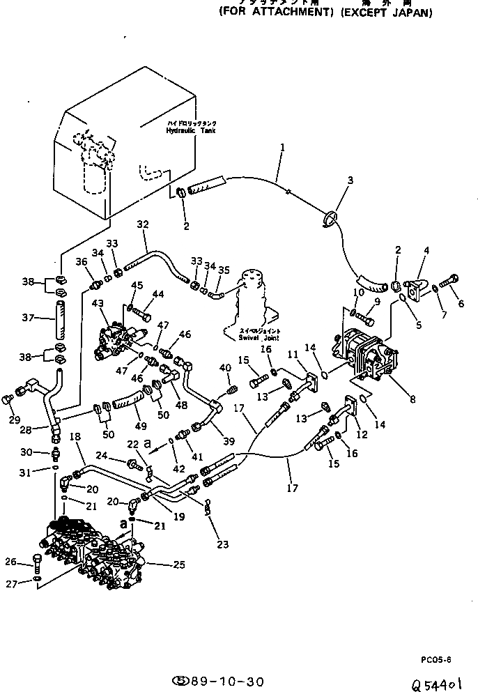
Запчасти Komatsu PC05-6 ГИДРОЛИНИЯ (ВСАСЫВ. И ВОЗВРАТ. ЛИНИЯ) (ДЛЯ НАВЕСН. ОБОРУД.) (КРОМЕ ЯПОН.)(№-) УПРАВЛ-Е РАБОЧИМ ОБОРУДОВАНИЕМ

Схема запчастей Komatsu PC05-6 - ГИДРОЛИНИЯ (ВСАСЫВ. И ВОЗВРАТ. ЛИНИЯ) (ДЛЯ НАВЕСН. ОБОРУД.)   (КРОМЕ ЯПОН.)(№-) УПРАВЛ-Е РАБОЧИМ ОБОРУДОВАНИЕМ
FIT
1:1
100%

Артикул

Название

Примечание

Количество

1

07261-22011

HOSE

2

07281-00359

CLAMP

3

08034-00536

BAND

4

20M-62-61111

TUBE

5

07000-03025

O-RING

6

01010-50825

BOLT

7

01643-30823

WASHER

8

705-41-06000

PUMP ASS'Y,(SEE FIG.6101)

9

01010-51030

BOLT

10

01643-31032

WASHER

11

20M-62-61130

TUBE

12

20M-62-61130

TUBE

13

07042-30108

PLUG

14

07000-02021

O-RING

15

01010-50830

BOLT

16

01643-30823

WASHER

17

20W-62-12240

HOSE

18

20W-62-12260

TUBE

19

20W-62-12250

TUBE

20

20W-62-12180

ELBOW

21

07002-12034

O-RING

22

20W-62-12270

CLAMP

23

20W-62-12280

CLAMP

24

01435-00820

BOLT

25

709-38-12300

VALVE ASS'Y,(SEE FIG.6201A)

26

01010-50830

BOLT

27

01643-30823

WASHER

28

20M-973-5430

TUBE

29

20M-973-5440

PLUG

30

20M-62-67110

NIPPLE

31

07002-12034

O-RING

32

07822-00603

TUBE

33

07832-00614

NUT

34

07831-00612

SLEEVE

35

07834-00613

ELBOW

36

07836-00613

CONNECTOR

37

07260-22016

HOSE

38

07281-00359

CLAMP

39

20M-973-5410

TUBE

40

07042-30312

PLUG

41

10E-853-6220

NIPPLE

42

07002-12034

O-RING

43

709-31-11300

VALVE ASS'Y,(SEE FIG.6211)

44

01010-50825

BOLT

45

01643-30823

WASHER

46

10E-853-6220

NIPPLE

47

07002-12034

O-RING

48

20M-973-5420

TUBE

49

07260-22016

HOSE

50

07281-00359

CLAMP

Выбрано товаров: 50