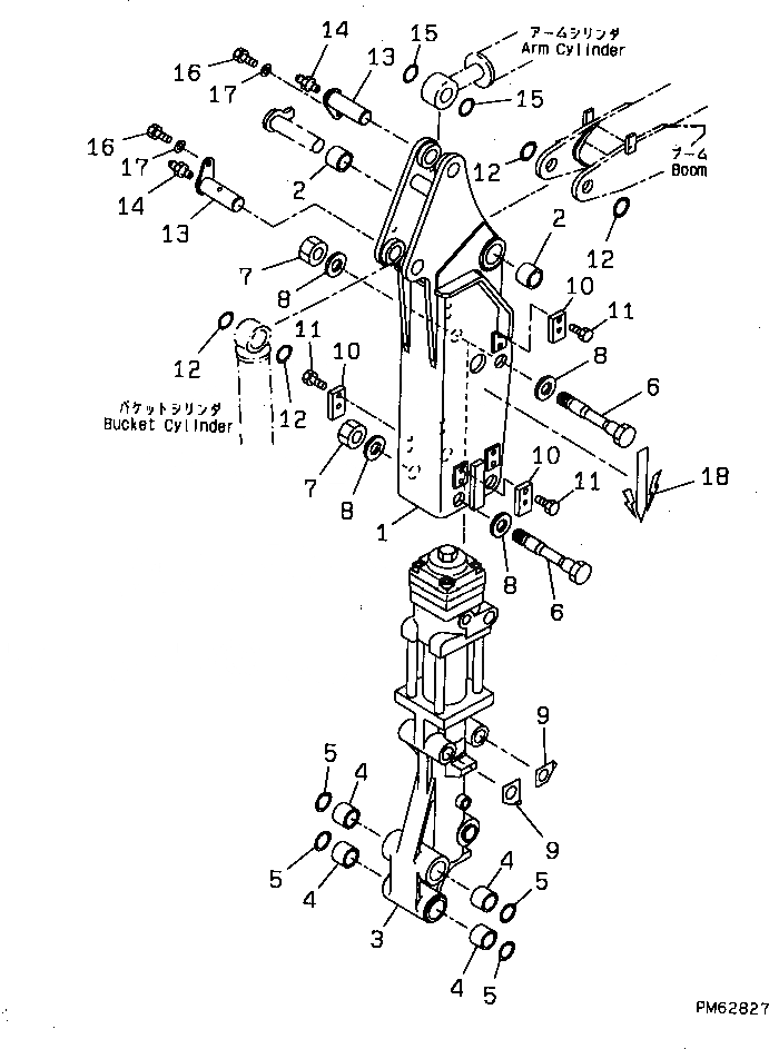
Запчасти Komatsu PC05-7 ГИДРОМОЛОТ РУКОЯТЬ(№7-) РАБОЧЕЕ ОБОРУДОВАНИЕ

Схема запчастей Komatsu PC05-7 - ГИДРОМОЛОТ РУКОЯТЬ(№7-) РАБОЧЕЕ ОБОРУДОВАНИЕ
FIT
1:1
100%

Артикул

Название

Примечание

Количество

1

20M-970-7112

ARM,BREAKER

2

07144-10303

BUSHING

3

20M-970-7211

BREAKER

4

07144-10303

BUSHING

5

07145-00030

SEAL,DUST

6

20M-970-7222

BOLT

7

01582-12419

NUT

8

01643-32460

WASHER

9

20M-970-7920

SHIM

|9

20M-970-7930

SHIM

|9

20M-970-7940

SHIM

10

20P-970-7251

PLATE

11

01435-01025

BOLT

12

07145-00030

SEAL

13

20W-70-11120

PIN

14

07020-00000

FITTING,GREASE

15

20N-70-11280

SPACER¤ 1.0MM

16

01010-51020

BOLT

17

01643-31032

WASHER

18

20M-970-7630

PLATE

Выбрано товаров: 20