Запчасти Komatsu PC05-7 ГИДРОМОЛОТ (ВНУТР. ЧАСТИ)(№7-) РАБОЧЕЕ ОБОРУДОВАНИЕ

Схема запчастей Komatsu PC05-7 - ГИДРОМОЛОТ (ВНУТР. ЧАСТИ)(№7-) РАБОЧЕЕ ОБОРУДОВАНИЕ
FIT
1:1
100%

Артикул

Название

Примечание

Количество

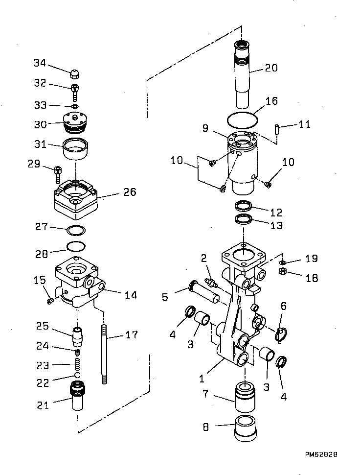
1

20M-970-7510

END,FRONT

2

21S-950-2550

NIPPLE,GREASE

3

07144-10303

BUSHING

4

07145-00030

SEAL,DUST

5

20M-970-7550

PIN,LOCK

6

20P-971-7460

PIN,RING

7

20M-970-7560

BUSHING,CHISEL

8

20M-970-7570

BUSHING,CHISEL

9

20M-970-7460

CYLINDER

10

20M-970-7470

PLUG

11

21S-970-2340

PLUG

12

20M-970-7480

PACKING

13

20M-970-7490

SEAL,DUST

14

20M-970-7340

BODY,VALVE

15

21S-970-2140

PLUG

16

20M-970-7440

O-RING

17

20M-970-7360

BOLT

18

20M-970-7530

NUT

19

20M-970-7520

WASHER

20

20M-970-7430

PISTON

21

20M-970-7420

TUBE,INNER

22

21S-970-2390

BALL,STEEL

23

21S-970-2380

SPRING

24

21S-970-2370

PLUG

25

20M-970-7370

VALVE,CONTROL

26

21S-970-2260

SHELL

27

21S-970-2270

RING,BACK-UP

28

21S-970-2280

O-RING

29

21S-970-2290

BOLT

30

20M-970-7270

COVER

31

21S-970-2250

DIAPHRAGM

32

21S-970-2220

BOLT,CAP

33

21S-970-2230

WASHER,SEAL

34

21S-970-2210

CAP

Выбрано товаров: 0