Запчасти Komatsu PC05-7 КРЕПЛЕНИЕ ДВИГАТЕЛЯ(№7-) КОМПОНЕНТЫ ДВИГАТЕЛЯ

Схема запчастей Komatsu PC05-7 - КРЕПЛЕНИЕ ДВИГАТЕЛЯ(№7-) КОМПОНЕНТЫ ДВИГАТЕЛЯ
FIT
1:1
100%

Артикул

Название

Примечание

Количество

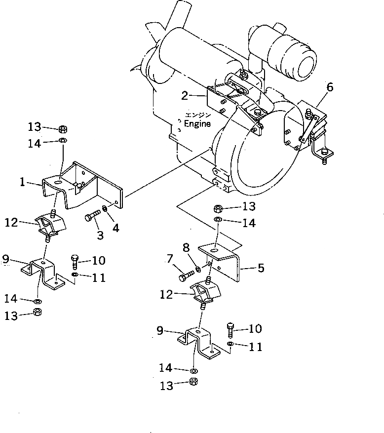
1

20M-01-72152

BRACKET

2

20M-01-72123

BRACKET

3

01010-51025

BOLT

4

01643-31032

WASHER

5

20M-01-72143

BRACKET

6

20M-01-72133

BRACKET

|6

20M-01-72134

BRACKET,(FOR BREAKER)

7

01010-51025

BOLT

8

01643-31032

WASHER

9

20M-01-72112

BRACKET

|9

20M-01-72111

BRACKET

10

01010-51025

BOLT

11

01643-31032

WASHER

12

20M-01-72160

CUSHION

13

01580-11210

NUT

14

01643-31232

WASHER

Выбрано товаров: 16