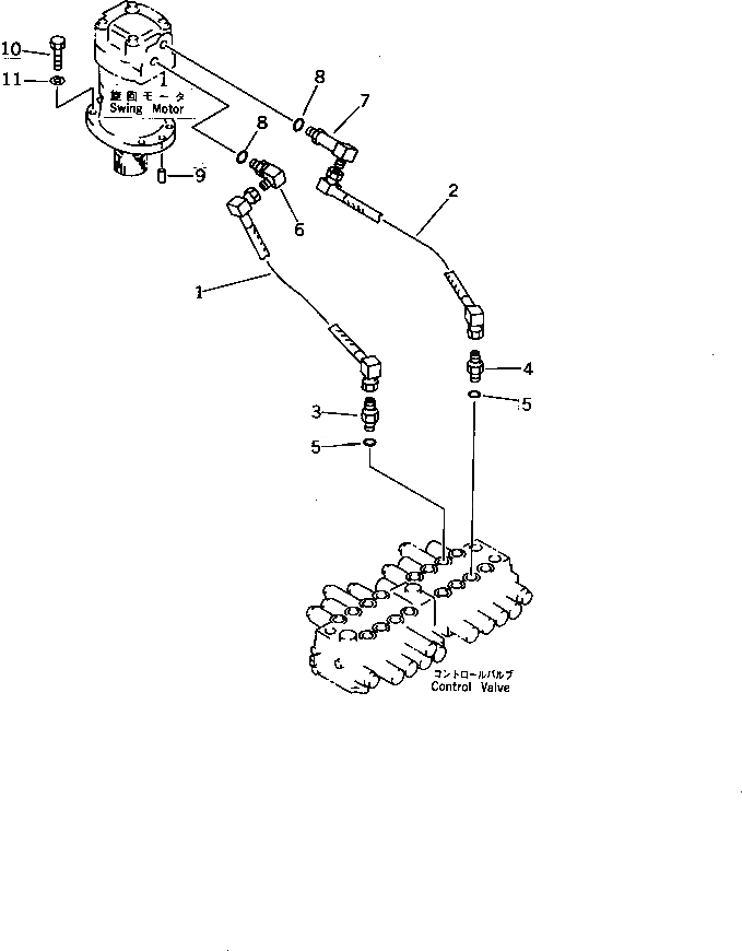
Запчасти Komatsu PC05-7 ГИДРОЛИНИЯ (МОТОР ПОВОРОТА ЛИНИЯ)(№8-) ГИДРАВЛИКА

Схема запчастей Komatsu PC05-7 - ГИДРОЛИНИЯ (МОТОР ПОВОРОТА ЛИНИЯ)(№8-) ГИДРАВЛИКА
FIT
1:1
100%

Артикул

Название

Примечание

Количество

1

20M-62-68280

HOSE

2

20M-62-68270

HOSE

3

20N-62-31270

NIPPLE

4

20M-62-32730

NIPPLE

5

07002-11823

O-RING

6

20N-62-21641

ELBOW

7

20M-62-72350

ELBOW

8

07000-12018

O-RING

9

20M-26-31150

PIN,DOWEL

10

01010-51040

BOLT

11

01643-31032

WASHER

Выбрано товаров: 11