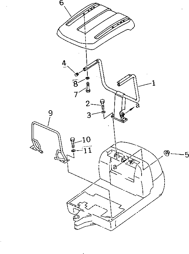
Запчасти Komatsu PC05-7 НАВЕС КАБИНА ОПЕРАТОРА И СИСТЕМА УПРАВЛЕНИЯ

Схема запчастей Komatsu PC05-7 - НАВЕС КАБИНА ОПЕРАТОРА И СИСТЕМА УПРАВЛЕНИЯ
FIT
1:1
100%

Артикул

Название

Примечание

Количество

1

20M-54-73121

POLE

2

01010-51235

BOLT

3

01643-31232

WASHER

4

20N-54-71880

CAP

5

01584-01008

NUT

6

20T-54-73121

ROOF,CANOPY

7

01010-51025

BOLT

8

01643-71032

WASHER

9

20M-54-71143

GUARD

|9

20M-54-71142

GUARD

10

01010-51030

BOLT

11

01643-31032

WASHER

Выбрано товаров: 12