Запчасти Komatsu PC05-7 ПОВОРОТ СТРЕЛЫ ПЕДАЛЬ И МЕХАНИЗМ(№7-) КАБИНА ОПЕРАТОРА И СИСТЕМА УПРАВЛЕНИЯ

Схема запчастей Komatsu PC05-7 - ПОВОРОТ СТРЕЛЫ ПЕДАЛЬ И МЕХАНИЗМ(№7-) КАБИНА ОПЕРАТОРА И СИСТЕМА УПРАВЛЕНИЯ
FIT
1:1
100%

Артикул

Название

Примечание

Количество

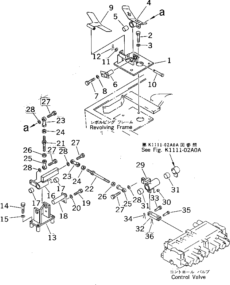
1

20M-43-71612

BRACKET

2

01010-50825

BOLT

3

01643-30823

WASHER

4

20M-43-71622

PEDAL

5

06124-02020

BEARING

6

20M-43-71681

PIN

7

01010-50820

BOLT

8

01643-30823

WASHER

9

20M-43-71670

PLATE,LOCK

10

20M-43-71690

PIN

11

01643-30823

WASHER

12

04050-12015

PIN,COTTER

13

20M-43-71791

BRACKET

14

01010-50850

BOLT

15

01643-30823

WASHER

16

20M-43-71643

LEVER

17

06124-02020

BEARING

18

20M-43-71651

SHAFT

19

01010-50820

BOLT

20

01643-30823

WASHER

21

04248-30810

ROD

22

04248-30824

ROD

23

04250-80847

END,ROD

24

01580-10806

NUT

25

04250-90847

END,ROD¤ L.H. THREAD

26

01508-40805

NUT,L.H. THREAD

27

01010-50825

BOLT

28

01643-30823

WASHER

29

20M-43-72661

LEVER

30

06600-00805

BUSHING

31

195-61-34120

BEARING

32

20M-43-72121

YOKE

33

20M-43-72380

PIN

34

04050-12015

PIN,COTTER

35

04205-10418

PIN

36

04050-11008

PIN,COTTER

Выбрано товаров: 36