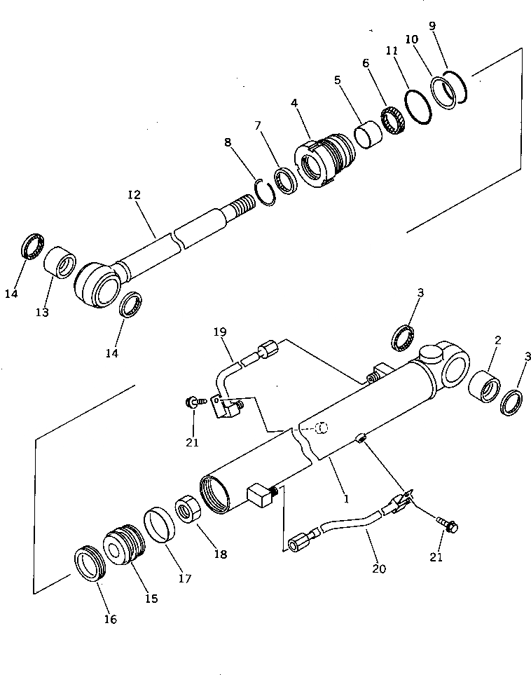
Запчасти Komatsu PC05-7 ЦИЛИНДР РУКОЯТИ(ВНУТР. ЧАСТИ) РАБОЧЕЕ ОБОРУДОВАНИЕ

Схема запчастей Komatsu PC05-7 - ЦИЛИНДР РУКОЯТИ(ВНУТР. ЧАСТИ) РАБОЧЕЕ ОБОРУДОВАНИЕ
FIT
1:1
100%

Артикул

Название

Примечание

Количество

|$0

20M-63-02021

CYLINDER ASS'Y

1

20M-63-67141

CYLINDER

2

07143-10302

BUSHING

3

07145-00030

SEAL,DUST (K3)

4

707-29-50810

HEAD,CYLINDER

5

07177-03025

BUSHING

6

707-51-30210

PACKING,ROD (K3)

7

707-56-30510

SEAL,DUST (K3)

8

07179-12042

RING,SNAP

9

07000-13045

O-RING (K3)

10

707-35-52510

RING,BACK-UP (K3)

11

07000-03048

O-RING (K3)

12

707-58-30670

ROD,PISTON

13

07143-10302

BUSHING

14

07145-00030

SEAL,DUST (K3)

15

707-36-50070

PISTON

16

707-44-50180

RING,PISTON (K3)

17

10E-63-32390

RING,WEAR (K3)

18

01580-02218

NUT

19

20M-62-73210

TUBE

20

20M-63-67170

TUBE

21

01435-00812

BOLT

Выбрано товаров: 22