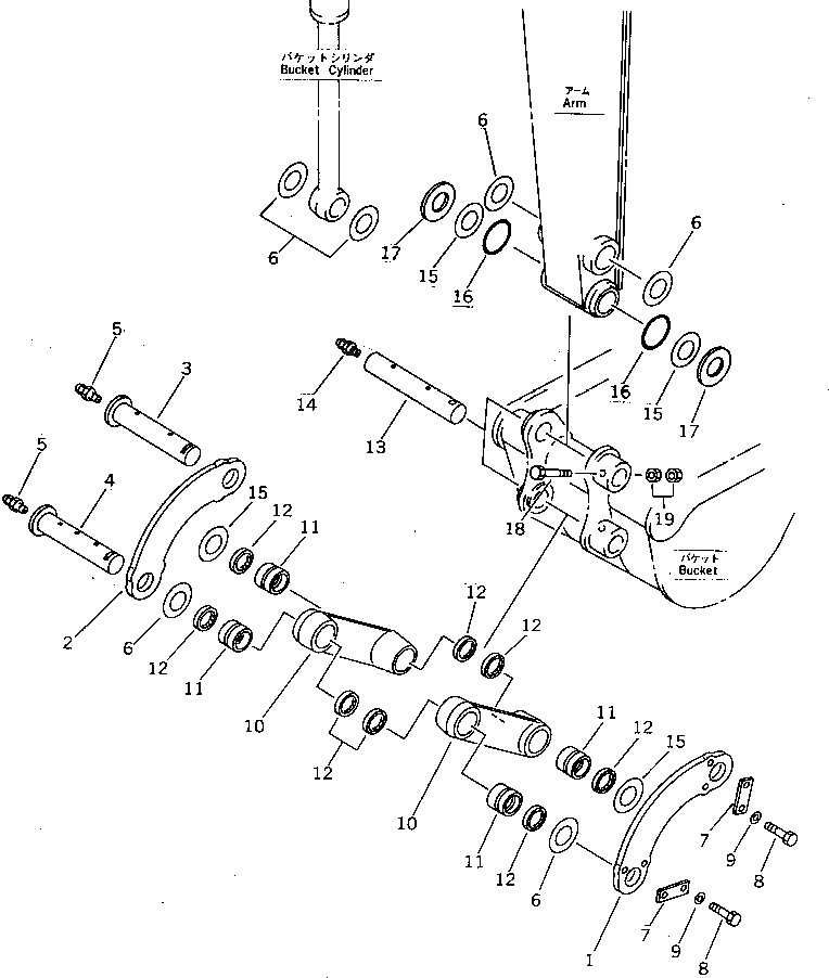
Запчасти Komatsu PC05-7 СОЕДИНЕНИЕ КОВША РАБОЧЕЕ ОБОРУДОВАНИЕ

Схема запчастей Komatsu PC05-7 - СОЕДИНЕНИЕ КОВША РАБОЧЕЕ ОБОРУДОВАНИЕ
FIT
1:1
100%

Артикул

Название

Примечание

Количество

1

20M-70-74120

LINK,L.H.

2

20M-70-74110

LINK,R.H.

3

20M-70-11251

PIN

4

20M-70-11262

PIN

5

07020-00000

FITTING,GREASE

6

20N-70-11280

SPACER, 1.0MM

7

04082-00110

LOCK

8

01010-51020

BOLT

9

01643-31032

WASHER

|$9

20M-70-00540

LINK ASS'Y

10

LINK

11

07144-10303

BUSHING

12

07145-00030

SEAL,DUST

13

20M-70-74131

PIN

14

07020-00000

FITTING,GREASE

15

20N-70-11280

SPACER, 1.0MM

16

20D-14-11530

O-RING

17

20N-70-71180

SPACER

17

20M-70-74140

SPACER

18

01010-51070

BOLT

19

01580-11008

NUT

Выбрано товаров: 21