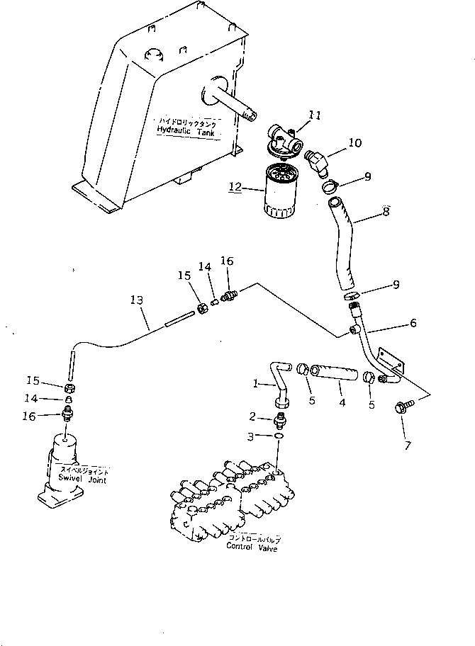
Запчасти Komatsu PC05-7 ГИДРОЛИНИЯ (ВОЗВРАТ. И ВОЗВРАТН. ЛИНИЯ)(№8-) ГИДРАВЛИКА

Схема запчастей Komatsu PC05-7 - ГИДРОЛИНИЯ (ВОЗВРАТ. И ВОЗВРАТН. ЛИНИЯ)(№8-) ГИДРАВЛИКА
FIT
1:1
100%

Артикул

Название

Примечание

Количество

1

20M-62-72171

TUBE

2

20M-62-72430

NIPPLE

3

07002-12034

O-RING

4

07260-22018

HOSE

5

07281-00359

CLAMP

6

20M-62-72181

TUBE

7

01435-00820

BOLT

8

07260-22625

HOSE

9

07281-00419

CLAMP

10

20M-62-72151

ELBOW

|$10

21U-60-11300

FILTER ASS'Y

11

21U-60-11310

HEAD

12

21U-60-11320

CARTRIDGE

13

20M-62-72330

TUBE

14

07831-00612

SLEEVE

15

07832-00614

NUT

16

07836-00613

CONNECTOR

Выбрано товаров: 17