Качественные детали и логистика
Оригинальные и аналоговые запчасти с доставкой по России, Казахстану и Беларуси
©2022 PartSell ООО "Система" ИНН 2463123282 ОГРН 1212400004838
Центральный офис: г. Красноярск, Академика Киренского, д.87, пом.4
Телефон: 8 (800) 777-65-74 Email: zakaz@partsell.ru
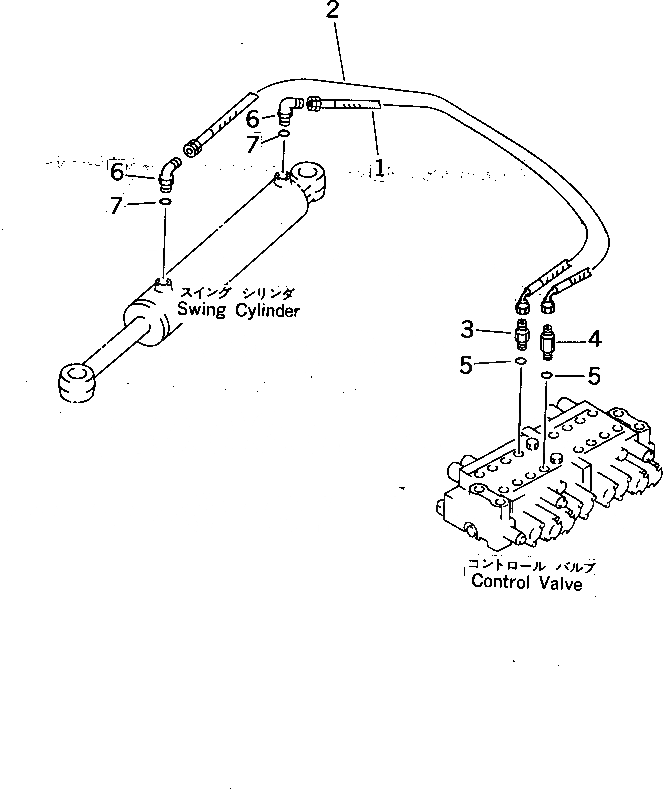
ГИДРОЛИНИЯ (ЦИЛИНДР ПОВОРОТА СТРЕЛЫ ЛИНИЯ)(№7-)
№
Артикул
Название
Примечание
Количество
1
20M-62-72291
HOSE
2
20M-62-72282
3
21S-62-12260
NIPPLE
4
21A-62-12360
5
07002-11423
O-RING
6
21U-62-24110
ELBOW
7
Выбрано товаров: 0