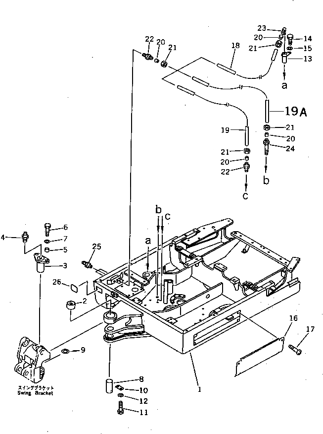
Запчасти Komatsu PC05-7 ОСНОВНАЯ РАМА ОСНОВНАЯ РАМА И ЕЕ ЧАСТИ

Схема запчастей Komatsu PC05-7 - ОСНОВНАЯ РАМА ОСНОВНАЯ РАМА И ЕЕ ЧАСТИ
FIT
1:1
100%

Артикул

Название

Примечание

Количество

1

20W-46-21113

FRAME,REVOLVING

1

20M-46-71111

FRAME,REVOLVING

2

20M-46-71171

BUSHING

3

20M-70-71123

PIN

4

07020-00000

FITTING,GREASE

5

20M-70-71210

COLLAR

6

01010-51025

BOLT

7

01643-31032

WASHER

8

20M-70-71131

PIN

9

21U-70-11740

SPACER, 1.0MM

10

04082-00212

LOCK

11

01010-51225

BOLT

12

01643-31232

WASHER

13

20M-70-71181

PIN

14

01010-51020

BOLT

15

01643-31032

WASHER

16

20M-46-71161

COVER

17

21R-06-11150

SCREW

18

20M-46-71221

TUBE

18

20M-46-71220

TUBE

19

20M-46-71212

TUBE

19

20M-46-71211

TUBE

19A

20M-46-71230

TUBE

20

21R-46-11411

NIPPLE

20

07831-00411

SLEEVE

21

07832-00410

NUT

22

20R-46-11160

CONNECTOR

23

20R-46-11421

ELBOW

23

20R-46-11150

ELBOW

24

20P-46-71320

ADAPTER

24

20N-46-41231

CONNECTOR

25

07020-00000

FITTING,GREASE

26

20M-46-71250

CAP

Выбрано товаров: 33