Запчасти Komatsu PC05-7 ПОВОРОТ СТРЕЛЫ ПЕДАЛЬ И МЕХАНИЗМ(№8-) КАБИНА ОПЕРАТОРА И СИСТЕМА УПРАВЛЕНИЯ

Схема запчастей Komatsu PC05-7 - ПОВОРОТ СТРЕЛЫ ПЕДАЛЬ И МЕХАНИЗМ(№8-) КАБИНА ОПЕРАТОРА И СИСТЕМА УПРАВЛЕНИЯ
FIT
1:1
100%

Артикул

Название

Примечание

Количество

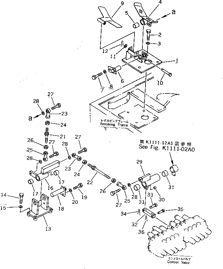
1

20M-43-71611

BRACKET

2

01010-50825

BOLT

3

01643-30823

WASHER

4

20M-43-71621

PEDAL

5

09350-02025

BUSHING

6

20M-43-71680

PIN

6

21U-43-11750

PIN

7

01010-50820

BOLT

8

01643-30823

WASHER

9

20M-43-71670

PLATE,LOCK

10

20M-43-71690

PIN

11

01643-30823

WASHER

12

04050-12015

PIN,COTTER

13

20M-43-71631

BRACKET

14

01010-50830

BOLT

15

01643-30823

WASHER

16

20M-43-71641

LEVER

17

09350-02015

BUSHING

18

20M-43-71650

SHAFT

19

01010-50820

BOLT

20

01643-30823

WASHER

21

04248-30810

ROD

22

04248-30817

ROD

23

04250-80847

END,ROD

24

01580-10806

NUT

25

04250-90847

END,ROD, L.H. THREAD

26

01508-40805

NUT,L.H. THREAD

27

01010-50825

BOLT

28

01643-30823

WASHER

29

20M-43-71661

LEVER

30

06600-00805

BUSHING

31

09350-02520

BUSHING

32

20M-43-71370

YOKE

33

04205-10820

PIN

34

04050-12015

PIN,COTTER

35

04205-10518

PIN

36

04050-11210

PIN,COTTER

Выбрано товаров: 37