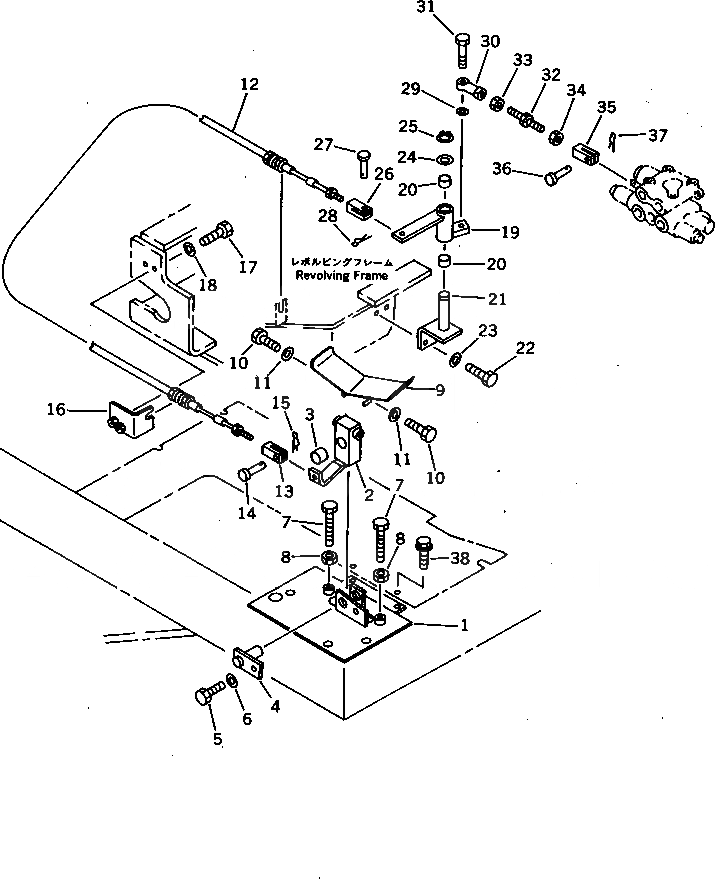
Запчасти Komatsu PC05-7 ПЕДАЛЬ УПРАВЛ-Я РАБОЧ. ОБОРУД. И МЕХАНИЗМ(№8-) КАБИНА ОПЕРАТОРА И СИСТЕМА УПРАВЛЕНИЯ

Схема запчастей Komatsu PC05-7 - ПЕДАЛЬ УПРАВЛ-Я РАБОЧ. ОБОРУД. И МЕХАНИЗМ(№8-) КАБИНА ОПЕРАТОРА И СИСТЕМА УПРАВЛЕНИЯ
FIT
1:1
100%

Артикул

Название

Примечание

Количество

1

20M-973-7310

BRACKET

2

20M-973-7010

LEVER

2

LEVER

2

BUSHING

3

09350-02025

BUSHING

4

20M-43-71680

PIN

5

01010-50814

BOLT

6

01643-30823

WASHER

7

01010-50850

BOLT

8

01580-10806

NUT

9

20M-973-7330

PEDAL

10

01010-50612

BOLT

11

01643-30623

WASHER

12

20M-973-7360

CABLE

13

20M-973-7350

YOKE

14

04205-10820

PIN

15

04052-10833

PIN,SNAP

16

20M-973-7370

BRACKET

17

01010-50825

BOLT

18

01643-30823

WASHER

19

20M-973-7020

LEVER

19

LEVER

19

BUSHING

20

09350-02015

BUSHING

21

20M-973-7390

SHAFT

22

01010-50820

BOLT

23

01643-30823

WASHER

24

01640-22032

WASHER

25

04064-02012

RING,SNAP

26

20M-973-7350

YOKE

27

04205-10820

PIN

28

04052-10833

PIN,SNAP

29

01643-30823

WASHER

30

04250-90847

END,ROD, L.H. THREAD

31

01010-50825

BOLT

32

20W-43-11210

ROD

33

01508-40805

NUT,L.H. THREAD

34

01580-10806

NUT

35

20C-43-11320

YOKE

36

04205-10520

PIN

37

04052-10530

PIN,SNAP

38

01435-00820

BOLT

Выбрано товаров: 42