Запчасти Komatsu PC07-1 ПОВОРОТН. БЛОК(№9-) РАБОЧЕЕ ОБОРУДОВАНИЕ

Схема запчастей Komatsu PC07-1 - ПОВОРОТН. БЛОК(№9-) РАБОЧЕЕ ОБОРУДОВАНИЕ
FIT
1:1
100%

Артикул

Название

Примечание

Количество

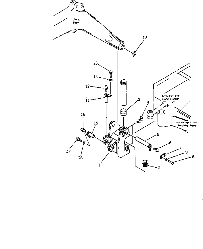
G-1

20W-70-X1111

SWING BRACKET SUB G.

|1

20W-70-00111

SWING BRACKET ASS'Y

1

BRACKET

2

07144-10404

BUSHING

3

20W-70-11131

BUSHING

4

07020-00900

FITTING,GREASE

G-2

20W-70-X1121

SWING BRACKET PIN G.

5

20M-70-61220

PIN

6

07020-00000

FITTING,GREASE

7

20M-70-61120

PLATE

8

01010-51020

BOLT

9

01643-31032

WASHER

10

20N-70-11280

SPACER¤ 1.0MM

11

20M-70-11231

PIN

12

07020-00000

FITTING,GREASE

13

01010-51020

BOLT

14

01643-31032

WASHER

15

20W-70-11120

PIN

16

07020-00000

FITTING,GREASE

17

01010-51020

BOLT

18

01643-31032

WASHER

Выбрано товаров: 21