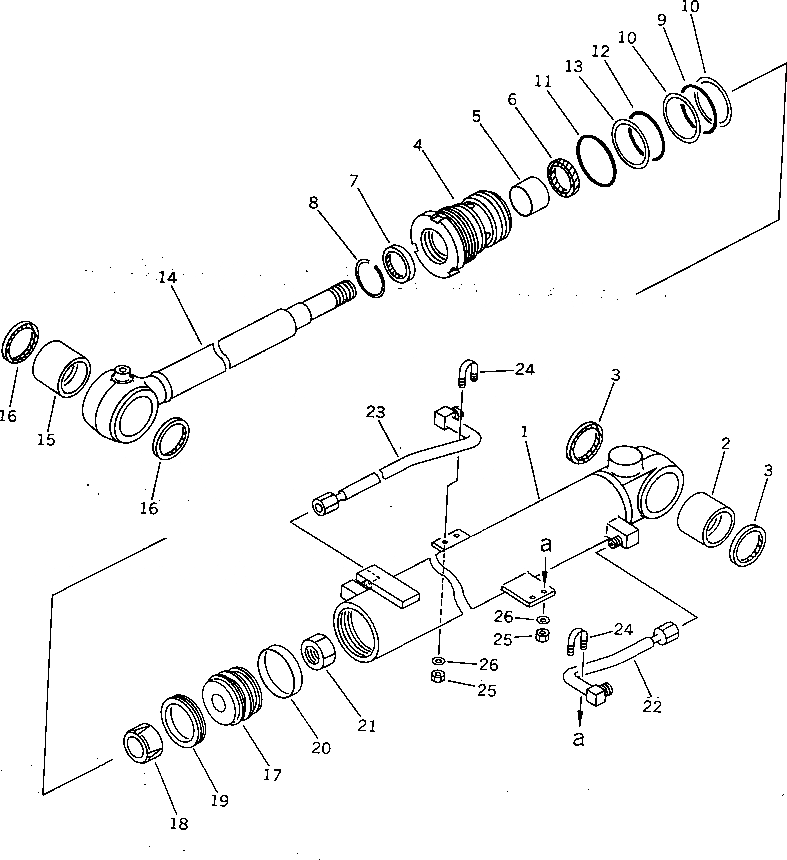
Запчасти Komatsu PC07-2 ЦИЛИНДР СТРЕЛЫ(ВНУТР. ЧАСТИ) РАБОЧЕЕ ОБОРУДОВАНИЕ

Схема запчастей Komatsu PC07-2 - ЦИЛИНДР СТРЕЛЫ(ВНУТР. ЧАСТИ) РАБОЧЕЕ ОБОРУДОВАНИЕ
FIT
1:1
100%

Артикул

Название

Примечание

Количество

G1

20W-63-X2012

CYLINDER GROUP

|1

20W-63-02012

CYLINDER ASS'Y

|1

20W-63-02011

CYLINDER ASS'Y

1

20W-63-57141

CYLINDER

2

07143-10304

BUSHING

3

07145-00035

SEAL,DUST (K1)

4

707-29-60210

HEAD,CYLINDER

|4

707-29-60860

HEAD,CYLINDER

5

07177-03525

BUSHING

6

707-51-35210

PACKING,ROD (K1)

7

175-63-75190

SEAL,DUST (K1)

8

07179-12047

RING,SNAP

9

07000-12055

O-RING (K1)

10

07146-02056

RING,BACK-UP (K1)

11

07000-02060

O-RING (K1)

12

07000-12055

O-RING (K1)

13

707-35-52560

RING,BACK-UP (K1)

14

20W-63-57120

ROD,PISTON

15

07143-10304

BUSHING

16

07145-00035

SEAL,DUST (K1)

17

707-36-60060

PISTON

18

707-71-60420

RETAINER

|18

707-71-60400

PLUNGER

19

707-44-60180

RING,PISTON (K1)

20

707-39-60190

RING

21

01580-02218

NUT

22

20M-62-73150

TUBE

23

20M-62-73160

TUBE

24

07283-21022

CLIP

25

01598-00608

NUT

26

01643-30623

WASHER

Выбрано товаров: 31