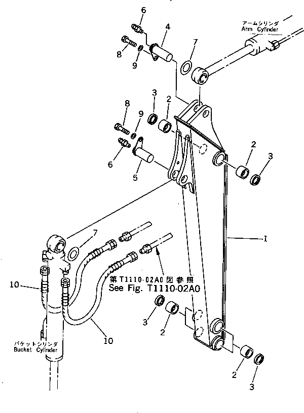
Запчасти Komatsu PC07-2 РУКОЯТЬ РАБОЧЕЕ ОБОРУДОВАНИЕ

Схема запчастей Komatsu PC07-2 - РУКОЯТЬ РАБОЧЕЕ ОБОРУДОВАНИЕ
FIT
1:1
100%

Артикул

Название

Примечание

Количество

|1

20W-70-23101

ARM ASS'Y

1

ARM

2

07143-10303

BUSHING

3

07145-00030

SEAL,DUST

4

20W-70-11120

PIN

5

20M-70-11231

PIN

6

07020-00000

FITTING,GREASE

7

20N-70-11280

SPACER¤ 1.0MM

8

01010-51020

BOLT

9

01643-31032

WASHER

10

20W-62-13230

HOSE

Выбрано товаров: 11