Запчасти Komatsu PC07-2 СИДЕНЬЕ ОПЕРАТОРА(№-) КАБИНА ОПЕРАТОРА И СИСТЕМА УПРАВЛЕНИЯ

Схема запчастей Komatsu PC07-2 - СИДЕНЬЕ ОПЕРАТОРА(№-) КАБИНА ОПЕРАТОРА И СИСТЕМА УПРАВЛЕНИЯ
FIT
1:1
100%

Артикул

Название

Примечание

Количество

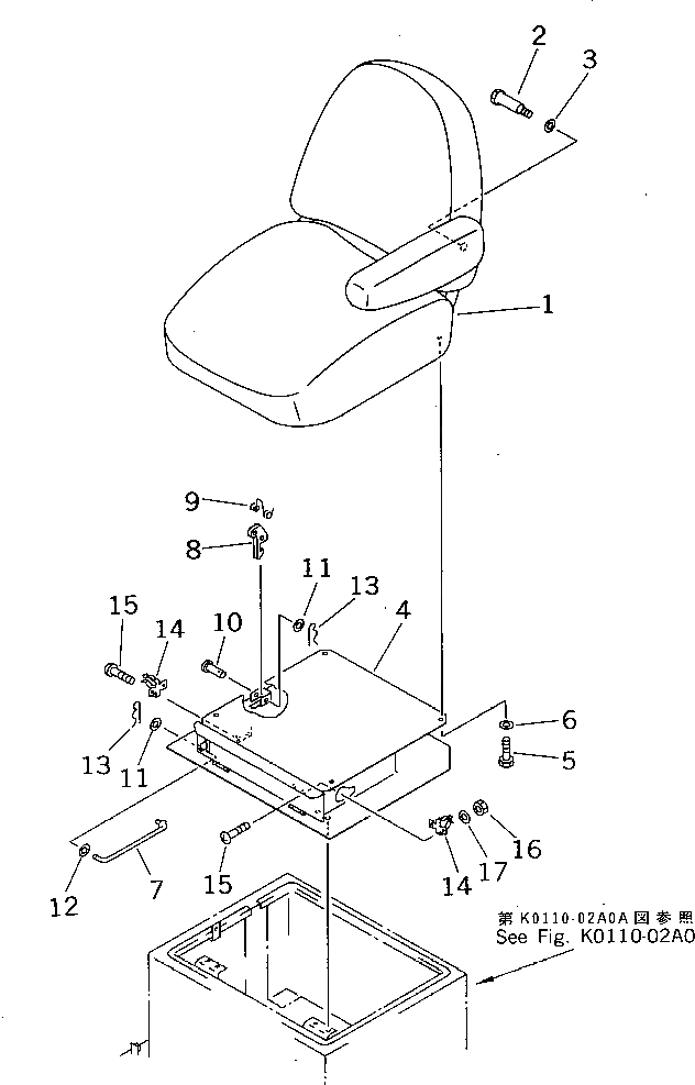
1

20M-57-71200

SEAT ASS'Y

|1

20M-57-71210

ARM REST

2

20M-57-71220

BOLT

3

01641-21223

WASHER

4

20M-57-71133

BRACKET

|4

20N-54-71440

HINGE

5

01010-50820

BOLT

6

01643-31032

WASHER

7

20M-57-71360

ROD

8

20M-57-71420

LEVER

9

111-86-19535

SPRING

10

04205-10835

PIN

11

01641-20812

WASHER

12

01643-30823

WASHER

13

04052-10833

PIN,SNAP

14

20B-54-12210

SPRING

15

01220-40406

SCREW

16

01580-10403

NUT

17

01641-20405

WASHER

Выбрано товаров: 19