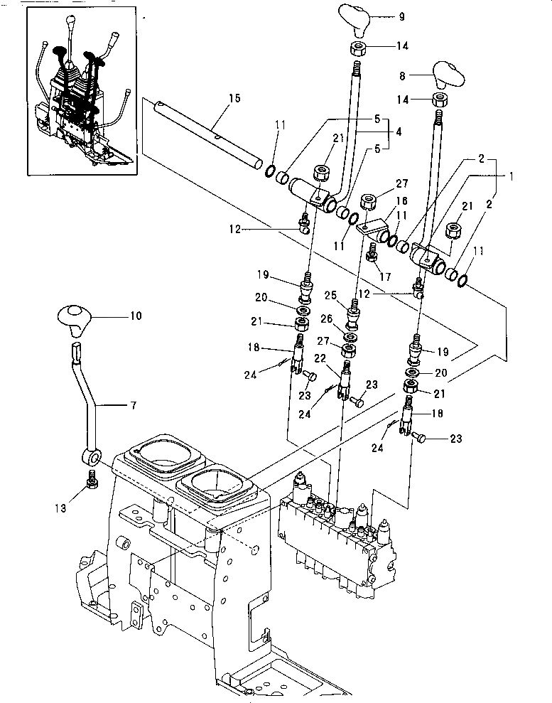
Запчасти Komatsu PC09FR-1 ХОД¤РЫЧАГ УПРАВЛЕНИЯ ОТВАЛОМ И МЕХАНИЗМ СИСТЕМА УПРАВЛЕНИЯ

Схема запчастей Komatsu PC09FR-1 - ХОД¤РЫЧАГ УПРАВЛЕНИЯ ОТВАЛОМ И МЕХАНИЗМ СИСТЕМА УПРАВЛЕНИЯ
FIT
1:1
100%

Артикул

Название

Примечание

Количество

1

YM17218645010K

LEVER ASS'Y,L.H.

2

YM172141-41370

BUSHING

4

YM17218645060K

LEVER ASS'Y,R.H.

5

YM172141-41370

BUSHING

7

YM172186-45140

LEVER ASS'Y,BLADE

8

YM172164-45951

KNOB,TRAVEL

9

YM172164-45961

KNOB,TRAVEL

10

YM172164-45970

GRIP,BLADE

11

YM172124-46200

O-RING

12

YM24761-050000

FITTING,GREASE

13

YM26013-080252

BOLT

14

YM26756-100002

NUT

15

YM172186-45160

SHAFT,LINK

16

YM17218645180K

LINK,BLADE

17

YM26013-080252

BOLT

18

YM172157-45650

ROD,SPOOL

19

YM172122-47250

BALL,LINK

20

YM22117-080000

WASHER

21

YM26051-080002

NUT

22

YM172157-45660

ROD,SPOOL

23

YM933110-54100

PIN

24

YM22417-160160

PIN

25

YM172157-45630

BALL,LINK

26

YM22137-060000

WASHER

27

YM26051-060002

NUT

Выбрано товаров: 0