Запчасти Komatsu PC09FR-1 ВОЗДУХООЧИСТИТЕЛЬ И ГЛУШИТЕЛЬ КОМПОНЕНТЫ ДВИГАТЕЛЯ И ЭЛЕКТРИКА

Схема запчастей Komatsu PC09FR-1 - ВОЗДУХООЧИСТИТЕЛЬ И ГЛУШИТЕЛЬ КОМПОНЕНТЫ ДВИГАТЕЛЯ И ЭЛЕКТРИКА
FIT
1:1
100%

Артикул

Название

Примечание

Количество

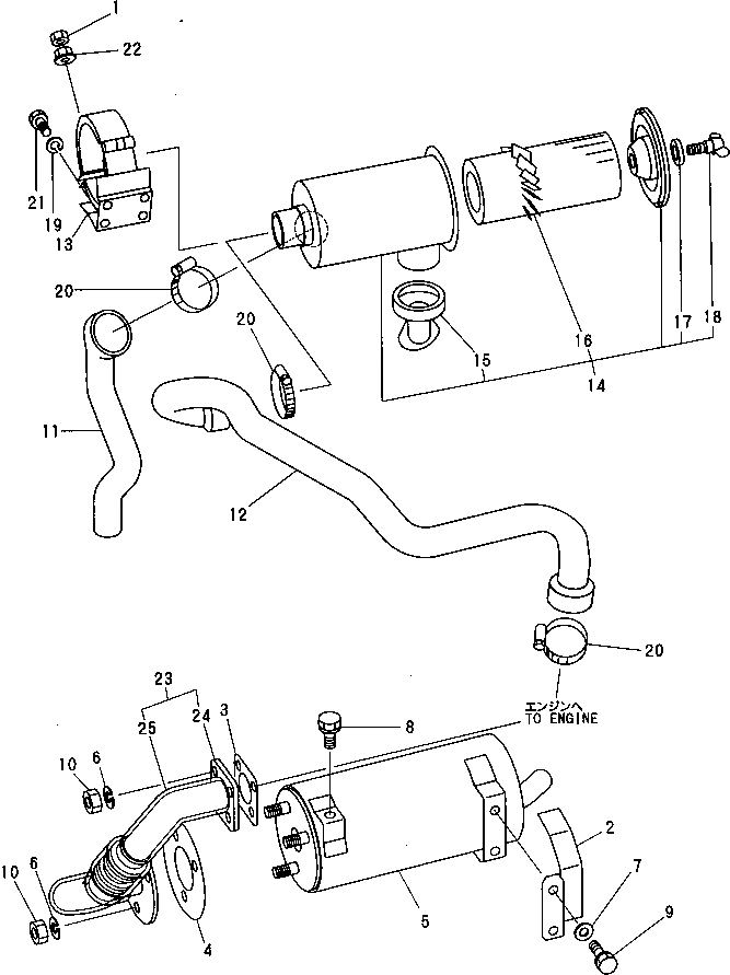
1

YM26716-080002

NUT

2

YM172186-11350

COVER,MUFFLER

3

YM124701-11911

GASKET,(NON-ASBESTOS)

4

YM103954-13201

GASKET,SILENCER

5

YM119325-13511

SILENCER

6

YM22217-080000

WASHER

7

YM22117-100000

WASHER

8

YM26013-100252

BOLT

9

YM26013-100302

BOLT

10

YM26716-080002

NUT

11

YM172186-11511

HOSE,AIR CLEANER

12

YM172186-11520

HOSE,AIR CLEANER

13

YM172186-11550

SUPPORT

14

YM119325-12510

AIR CLEANER ASS'Y,AIR

15

YM129150-12520

TUBE,UNLOADER

16

YM119860-12510

ELEMENT,AIR CLEANER

17

YM124064-12680

BOLT,WING

18

YM124064-12690

WASHER

19

YM22217-080000

WASHER

20

YM23000-060000

CLAMP

21

YM26116-080162

BOLT

22

YM26366-080002

NUT

23

YM172186-11300

TUBE

24

YM172186-11310

TUBE ASS'Y,EXHAUST

25

YM172186-11340

INSULATOR

Выбрано товаров: 25