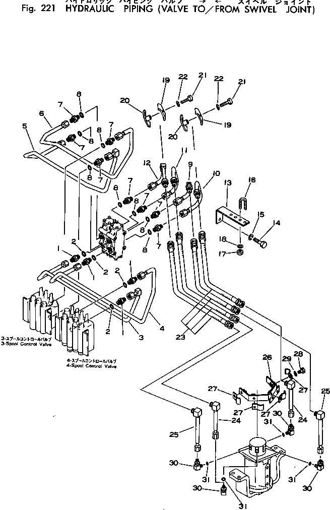
Запчасти Komatsu PC10-1 ГИДРОЛИНИЯ (КЛАПАН TO/FROM ПОВОРОТНОЕ СОЕДИНЕНИЕ) ХОД И КОНЕЧНАЯ ПЕРЕДАЧА

Схема запчастей Komatsu PC10-1 - ГИДРОЛИНИЯ (КЛАПАН TO/FROM ПОВОРОТНОЕ СОЕДИНЕНИЕ) ХОД И КОНЕЧНАЯ ПЕРЕДАЧА
FIT
1:1
100%

Артикул

Название

Примечание

Количество

1

01230-10315

SCREW

2

07002-12034

O-RING

3

20N-62-13112

TUBE

|3

20N-62-13111

TUBE

4

20N-62-13122

TUBE

|4

20N-62-13121

TUBE

5

20N-62-13131

TUBE

6

20N-62-13141

TUBE

7

07230-10315

UNION

8

07002-12034

O-RING

9

20N-62-13151

TUBE

10

20N-62-13161

TUBE

11

20N-62-13171

TUBE

12

20N-62-13181

TUBE

13

20N-62-13212

PLATE

14

01010-51020

BOLT

15

01602-21030

WASHER,SPRING

16

07283-21529

CLIP

17

01598-00809

NUT

18

01643-30823

WASHER

19

07284-01540

CLIP

20

07284-11540

CLIP

21

01010-50816

BOLT

22

01602-20825

WASHER

23

07123-00303

HOSE

24

20N-62-13221

TUBE

25

20N-62-13231

TUBE

26

20N-62-13242

PLATE

27

T02-62-14140

CLAMP

28

01010-51025

BOLT

29

01602-21030

WASHER,SPRING

30

20D-62-12180

ELBOW

31

07002-11423

O-RING

Выбрано товаров: 33