Качественные детали и логистика
Оригинальные и аналоговые запчасти с доставкой по России, Казахстану и Беларуси
©2022 PartSell ООО "Система" ИНН 2463123282 ОГРН 1212400004838
Центральный офис: г. Красноярск, Академика Киренского, д.87, пом.4
Телефон: 8 (800) 777-65-74 Email: zakaz@partsell.ru
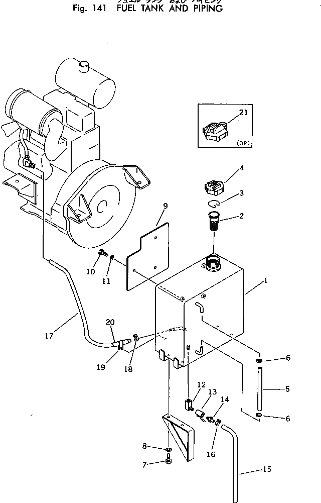
ТОПЛ. БАК И ТОПЛИВОПРОВОД
№
Артикул
Название
Примечание
Количество
|1
20N-04-00100
FUEL TANK ASS'Y
1
TANK,FUEL
2
07056-16415
STRAINER,FUEL
3
07057-03266
RING
4
07050-20920
CAP ASS'Y
5
07270-01030
TUBE
6
07281-00197
CLAMP
7
01010-51225
BOLT
8
01602-11226
WASHER,LOCK
9
20N-04-11170
PLATE
10
01010-51016
11
01602-21030
WASHER,SPRING
12
480-10-12360
ELBOW
13
07700-40240
VALVE
|13
113-04-22120
14
113-04-22150
NIPPLE
15
07270-01235
16
07281-00167
17
20N-04-12160
HOSE
18
07281-00137
19
08035-01512
CLIP
20
20N-04-11180
21
07091-00920
CAP ASS'Y,(FOR VANDALISM)
Выбрано товаров: 0