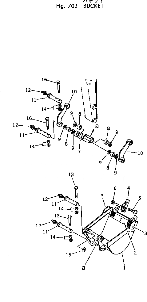
Запчасти Komatsu PC10-1 КОВШ РАБОЧЕЕ ОБОРУДОВАНИЕ

Схема запчастей Komatsu PC10-1 - КОВШ РАБОЧЕЕ ОБОРУДОВАНИЕ
FIT
1:1
100%

Артикул

Название

Примечание

Количество

|1

20N-70-13200

BUCKET ASS'Y

1

20N-70-13210

BUCKET

2

20N-70-13220

EDGE (WELDED)

3

20R-70-13120

CUTTER,SIDE (WELDED)

4

10E-70-22211

TOOTH

5

02090-11055

BOLT

6

10E-70-22220

NUT

|7

20N-70-00300

LINK ASS'Y

7

LINK

8

07143-10303

BUSHING

9

07145-00030

SEAL,DUST

10

20N-70-12140

LINK,L.H.

|10

20N-70-12150

LINK,R.H.

11

20N-70-11250

PIN

12

07020-00000

FITTING,GREASE

13

01010-31075

BOLT

14

01580-01008

NUT

15

20N-70-11280

SPACER¤ 1.0MM

16

01010-31070

BOLT

Выбрано товаров: 19