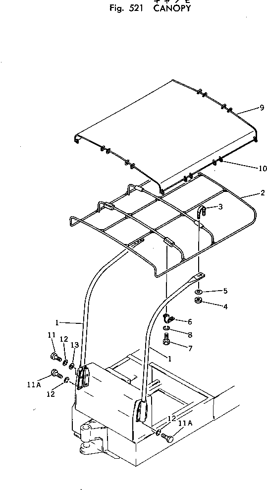
Запчасти Komatsu PC10-1 НАВЕС ОСНОВНАЯ РАМА И КАБИНА

Схема запчастей Komatsu PC10-1 - НАВЕС ОСНОВНАЯ РАМА И КАБИНА
FIT
1:1
100%

Артикул

Название

Примечание

Количество

1

10E-906-2130

POLE,L.H.

1

10E-906-2140

POLE,R.H.

2

20N-54-15110

ROOF

3

07283-22236

CLIP

4

01599-01011

NUT

5

01643-31032

WASHER

6

07282-03411

CLAMP

7

01010-31020

BOLT

8

01602-01030

WASHER,SPRING

9

10E-906-2110

SEAT

10

131-906-1220

ROPE, 8.5M

11

01010-31230

BOLT

11A

01010-31225

BOLT

12

01602-01236

WASHER,SPRING

13

01643-31232

WASHER

Выбрано товаров: 15