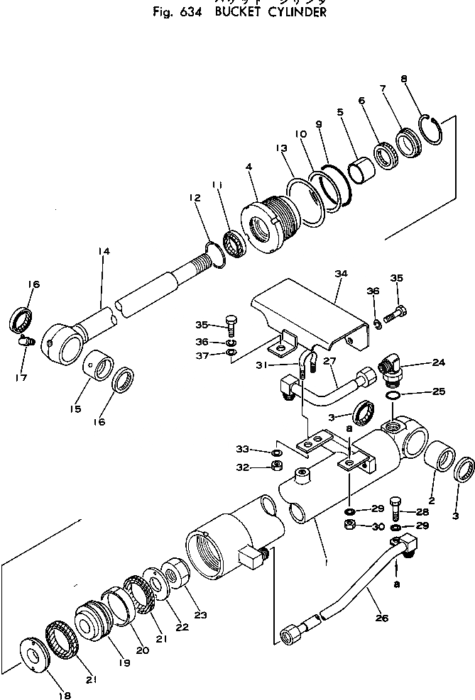
Запчасти Komatsu PC10-1 ЦИЛИНДР КОВША ГИДРАВЛИКА

Схема запчастей Komatsu PC10-1 - ЦИЛИНДР КОВША ГИДРАВЛИКА
FIT
1:1
100%

Артикул

Название

Примечание

Количество

|$0

20N-63-76101

CYLINDER ASS'Y

1

20N-63-76140

CYLINDER

2

07143-10303

BUSHING

3

07145-00030

SEAL,DUST

4

707-29-60010

HEAD,CYLINDER

5

07177-03025

BUSHING

6

707-51-30110

PACKING,ROD

7

707-57-30010

RETAINER

8

04065-04718

RING,SNAP

9

07000-12065

O-RING

10

07001-02065

RING,BACK-UP

11

707-56-30510

SEAL,DUST

12

07179-00049

RING,SNAP

13

707-45-60010

RING

14

20N-63-76120

ROD,PISTON

15

07144-10303

BUSHING

16

07145-00030

SEAL,DUST

17

07020-00900

FITTING,GREASE

18

102-63-32380

RETAINER

19

102-61-17331

PISTON

20

07155-00615

RING,WEAR

21

102-63-32372

PACKING,PISTON

22

102-63-32390

RETAINER

23

07165-12222

NUT,NYLON

24

07235-10315

ELBOW

25

07002-12034

O-RING

26

20N-63-76170

TUBE

27

20N-63-76180

TUBE

28

01010-31025

BOLT

29

01605-11023

WASHER

30

01580-01008

NUT

31

07283-21529

CLIP

32

01598-00809

NUT

33

01643-30823

WASHER

34

20N-63-76290

GUARD

35

01010-31020

BOLT

36

01602-01030

WASHER,SPRING

37

01643-31032

WASHER

Выбрано товаров: 38