Запчасти Komatsu PC10-2 КАБИНА (/) ОСНОВНАЯ РАМА И КАБИНА

Схема запчастей Komatsu PC10-2 - КАБИНА (/) ОСНОВНАЯ РАМА И КАБИНА
FIT
1:1
100%

Артикул

Название

Примечание

Количество

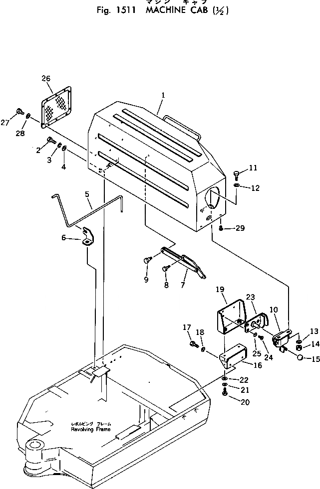
1

20N-54-21110

COVER,MACHINE

2

01010-31230

BOLT

3

01602-01236

WASHER,SPRING

4

01643-01232

WASHER

5

20N-54-21130

BAR,TORSION

6

20N-54-21320

PLATE

7

20R-54-21430

STAY

8

20R-54-21450

BOLT

9

20R-54-21440

BOLT

10

20N-54-21170

LOCK ASS'Y

11

01010-30820

BOLT

12

01643-00823

WASHER

13

01602-00825

WASHER,SPRING

14

01580-00806

NUT

15

20N-54-21180

KNOB

16

20N-54-21360

BRACKET

17

01010-31020

BOLT

18

01602-01030

WASHER,SPRING

19

20N-54-21350

BRACKET

20

01010-31025

BOLT

21

01602-01030

WASHER,SPRING

22

01643-01032

WASHER

23

566-54-24511

STRIKER

24

01224-40820

SCREW

25

205-54-53730

WASHER,LOCK

26

20N-54-21190

COVER

27

01220-40616

SCREW

28

01640-20610

WASHER

29

203-54-32260

STOPPER

Выбрано товаров: 29