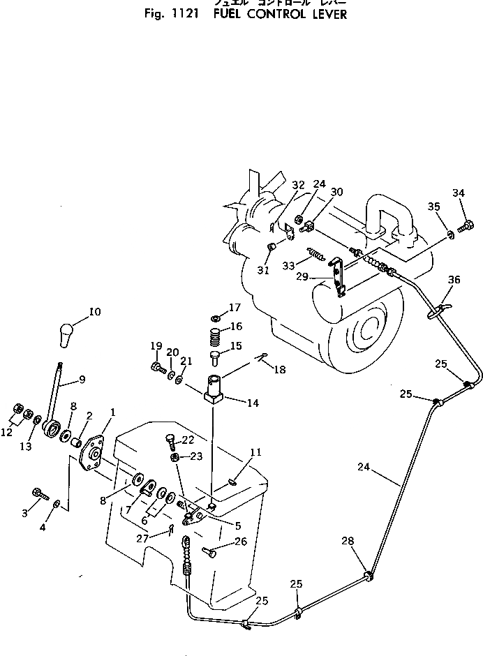
Запчасти Komatsu PC10-2 РЫЧАГ УПРАВЛ-Я ПОДАЧЕЙ ТОПЛИВА КОМПОНЕНТЫ ДВИГАТЕЛЯ И ЭЛЕКТРИКА

Схема запчастей Komatsu PC10-2 - РЫЧАГ УПРАВЛ-Я ПОДАЧЕЙ ТОПЛИВА КОМПОНЕНТЫ ДВИГАТЕЛЯ И ЭЛЕКТРИКА
FIT
1:1
100%

Артикул

Название

Примечание

Количество

|1

20N-43-00400

BRACKET ASS'Y

1

BRACKET

2

09350-01420

BUSHING

3

01010-31025

BOLT

4

01602-01030

WASHER,SPRING

5

20N-43-24120

SHAFT

6

101-854-9355

SPRING

7

20N-43-24130

PLATE

8

10E-43-11160

FACING

9

20N-43-24140

LEVER

10

113-43-23420

KNOB

11

04010-00516

KEY

12

01583-11207

NUT

13

01640-21223

WASHER

14

124-43-21150

HOLDER

15

124-43-21160

PIN

16

124-43-21170

SPRING

17

01642-21216

WASHER

18

04050-16045

PIN,COTTER

19

01010-30620

BOLT

20

01602-00619

WASHER,SPRING

21

01643-00623

WASHER

22

01016-30830

BOLT

23

01580-00806

NUT

24

20N-43-24150

CABLE

25

08036-10814

CLIP

26

04205-10616

PIN

27

04050-11610

PIN,COTTER

28

08037-02512

GROMMET

29

20N-43-24170

BRACKET

30

20N-43-24181

HOLDER

31

20N-43-24220

STOPPER

32

04052-01253

PIN

33

20N-43-24210

SPRING

34

01010-30625

BOLT

35

01602-00619

WASHER,SPRING

36

08034-00519

BAND

Выбрано товаров: 37