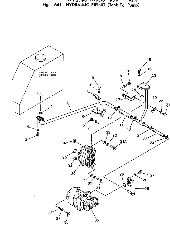
Запчасти Komatsu PC10-2 ГИДРОЛИНИЯ (ИЗ БАКА В НАСОС) ГИДРАВЛИКА

Схема запчастей Komatsu PC10-2 - ГИДРОЛИНИЯ (ИЗ БАКА В НАСОС) ГИДРАВЛИКА
FIT
1:1
100%

Артикул

Название

Примечание

Количество

1

20N-62-21110

TUBE

2

07000-03030

O-RING

3

01010-31030

BOLT

4

01602-01030

WASHER,SPRING

5

20N-62-21140

BRACKET

6

01010-31020

BOLT

7

01602-01030

WASHER,SPRING

8

20N-62-21190

CLAMP

9

01010-31030

BOLT

10

01602-01030

WASHER,SPRING

11

07260-23218

HOSE

12

07281-00489

CLAMP

13

20N-62-21170

TUBE

14

07000-03032

O-RING

15

07372-21045

BOLT

16

01602-01030

WASHER,SPRING

17

20N-62-21180

PLATE

18

01010-31020

BOLT

19

01602-01030

WASHER,SPRING

20

124-Z46-2450

CLAMP

21

01010-31025

BOLT

22

01602-01030

WASHER,SPRING

23

07260-22618

HOSE

24

07281-00419

CLAMP

25

20N-62-21130

TUBE

26

07000-03048

O-RING

27

01010-31235

BOLT

28

01602-01236

WASHER,SPRING

29

705-22-20020

PUMP ASS'Y

30

07000-02085

O-RING

31

01010-31045

BOLT

31A

01010-51055

BOLT

32

01602-01030

WASHER,SPRING

33

01643-31032

WASHER

34

01580-11008

NUT

35

705-52-10060

TANDEM PUMP ASS'Y

36

01010-31030

BOLT

37

01602-01030

WASHER,SPRING

38

01643-01032

WASHER

Выбрано товаров: 39