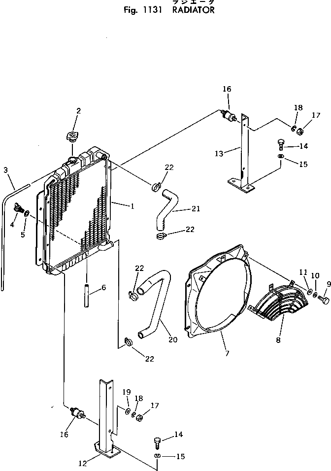
Запчасти Komatsu PC10-2 РАДИАТОР КОМПОНЕНТЫ ДВИГАТЕЛЯ И ЭЛЕКТРИКА

Схема запчастей Komatsu PC10-2 - РАДИАТОР КОМПОНЕНТЫ ДВИГАТЕЛЯ И ЭЛЕКТРИКА
FIT
1:1
100%

Артикул

Название

Примечание

Количество

|1

20N-03-21100

RADIATOR ASS'Y

1

20N-03-21110

RADIATOR SUB ASS'Y

2

20R-03-11220

CAP

3

07270-00870

TUBE

4

20N-03-11181

PLUG,DRAIN

5

07000-01007

O-RING

6

07270-00810

TUBE

7

20N-03-21120

SHROUD

8

20S-03-11242

NET,WIRE

9

01010-30820

BOLT

10

01602-00825

WASHER,SPRING

11

01641-00812

WASHER

12

20N-03-22130

BRACKET

13

20N-03-22140

BRACKET

14

01010-31025

BOLT

15

01602-01030

WASHER,SPRING

16

20R-03-11190

CUSHION

17

01580-00806

NUT

18

01602-00825

WASHER,SPRING

20

20N-03-22120

HOSE

21

20N-03-22110

HOSE

22

07281-00419

CLAMP

Выбрано товаров: 22