Запчасти Komatsu PC10-2 КЛАПАН РЫЧАГ УПРАВЛ-Я (PКАНАТL) ГИДРАВЛИКА

Схема запчастей Komatsu PC10-2 - КЛАПАН РЫЧАГ УПРАВЛ-Я (PКАНАТL) ГИДРАВЛИКА
FIT
1:1
100%

Артикул

Название

Примечание

Количество

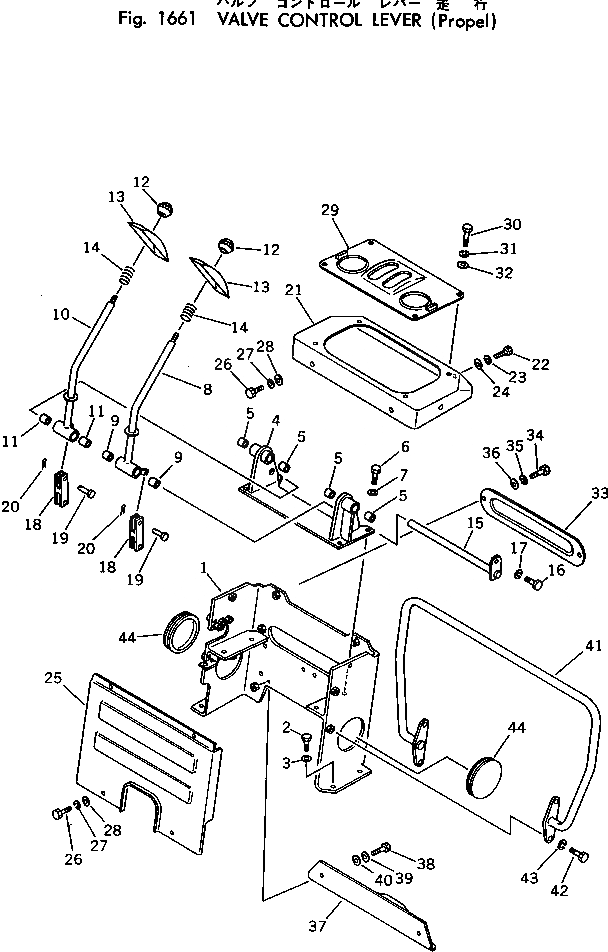
1

20N-43-21110

BRACKET

2

01010-31025

BOLT

3

01602-01030

WASHER,SPRING

|4

20N-43-00100

BRACKET ASS'Y

4

BRACKET

5

20T-43-11280

BUSHING

6

01010-31025

BOLT

7

01602-01030

WASHER

|8

20N-43-00140

LEVER ASS'Y

8

LEVER,L.H.

9

20T-43-11280

BUSHING

|10

20N-43-00150

LEVER ASS'Y

10

LEVER,R.H.

11

20T-43-11280

BUSHING

12

20R-43-11280

KNOB

13

20T-43-11260

COVER

14

09340-10130

SPRING

15

20N-43-21160

SHAFT

16

01010-31020

BOLT

17

01602-01030

WASHER,SPRING

18

04213-20625

YOKE

19

04205-10618

PIN

20

04050-11610

PIN,COTTER

21

20N-43-23180

COVER,UPPER

22

01010-31025

BOLT

23

01602-01030

WASHER,SPRING

24

01640-21016

WASHER

25

20N-43-23120

COVER,FRONT

26

01010-31025

BOLT

27

01602-01030

WASHER,SPRING

28

01640-21016

WASHER

29

20N-43-23130

COVER

30

01010-31025

BOLT

31

01602-01030

WASHER,SPRING

32

01640-21016

WASHER

33

20N-43-23140

COVER

34

01010-31025

BOLT

35

01602-01030

WASHER,SPRING

36

01640-21016

WASHER

37

20N-43-23150

COVER

38

01010-31025

BOLT

39

01602-01030

WASHER,SPRING

40

01640-21016

WASHER

41

20N-43-23190

STAY

42

01010-31025

BOLT

43

01602-01030

WASHER,SPRING

44

20N-43-23160

CAP

Выбрано товаров: 0