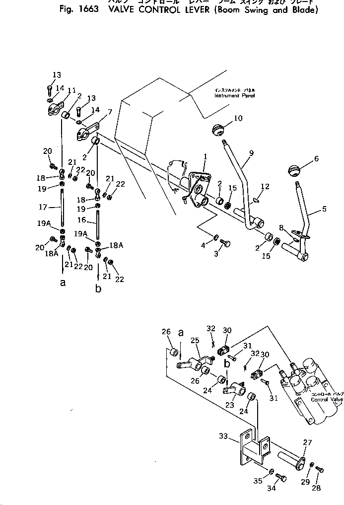
Запчасти Komatsu PC10-2 КЛАПАН РЫЧАГ УПРАВЛ-Я (ПОВОРОТ СТРЕЛЫ И ОТВАЛ) ГИДРАВЛИКА

Схема запчастей Komatsu PC10-2 - КЛАПАН РЫЧАГ УПРАВЛ-Я (ПОВОРОТ СТРЕЛЫ И ОТВАЛ) ГИДРАВЛИКА
FIT
1:1
100%

Артикул

Название

Примечание

Количество

|1

20N-43-00200

BRACKET ASS'Y

1

BRACKET

2

09350-02020

BUSHING

3

01010-31025

BOLT

4

01602-01030

WASHER,SPRING

5

20N-43-22120

LEVER,BOOM SWING

6

20R-43-11290

KNOB

7

20N-43-22130

LEVER

8

04010-00519

KEY

9

20N-43-22220

LEVER,BLADE

10

20R-43-11280

KNOB

11

20N-43-22230

LEVER

12

04010-00519

KEY

13

01010-30830

BOLT

14

01602-00825

WASHER,SPRING

15

06122-02004

SEAL

16

20N-43-22141

ROD

|16

20N-43-22140

ROD

17

20N-43-22241

ROD

|17

20N-43-22240

ROD

18

04250-40847

END,ROD

18A

04250-60847

END,ROD

|18A

04250-40847

END,ROD

19

01580-00806

NUT

19A

01580-10805

NUT

|19A

01580-00806

NUT

20

01010-30830

BOLT

21

01602-00825

WASHER,SPRING

22

01580-00806

NUT

|23

20N-43-00240

LEVER ASS'Y

23

LEVER

24

09350-02020

BUSHING

|25

20N-43-00340

LEVER ASS'Y

25

LEVER

26

09350-02015

BUSHING

27

20N-43-22320

SHAFT

28

01010-30820

BOLT

29

01602-00825

WASHER,SPRING

30

04213-20625

YOKE

31

04205-10618

PIN

32

04050-11610

PIN,COTTER

33

20N-43-22310

BRACKET

34

01010-31025

BOLT

35

01602-01030

WASHER,SPRING

Выбрано товаров: 44