Запчасти Komatsu PC10-2 СТРЕЛА И ПОВОРОТН. БЛОК РАБОЧЕЕ ОБОРУДОВАНИЕ

Схема запчастей Komatsu PC10-2 - СТРЕЛА И ПОВОРОТН. БЛОК РАБОЧЕЕ ОБОРУДОВАНИЕ
FIT
1:1
100%

Артикул

Название

Примечание

Количество

|1

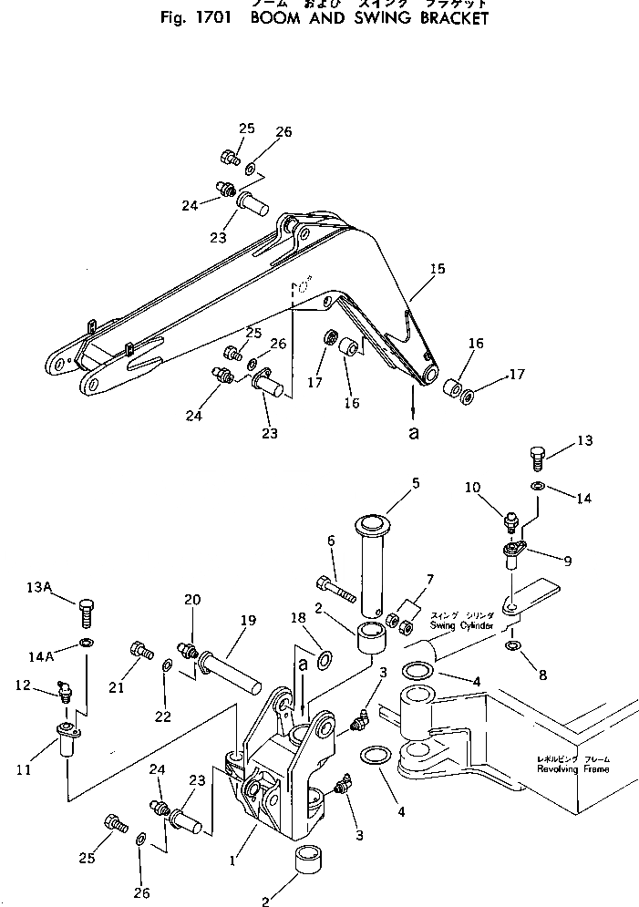
20N-70-00030

SWING BRACKET ASS'Y

1

BRACKET

2

07144-10606

BUSHING

3

07020-00900

FITTING,GREASE

4

20N-70-14120

WASHER

5

20N-70-11260

PIN

6

01011-31630

BOLT

7

01580-01613

NUT

8

01640-23045

WASHER

9

20N-70-11270

PIN

10

07020-00000

FITTING,GREASE

11

20R-70-14140

PIN

12

07020-00675

FITTING,GREASE

13

01010-31025

BOLT

13A

01010-31225

BOLT

14

01643-31032

WASHER

14A

01643-31232

WASHER

|15

20N-70-00101

BOOM ASS'Y

15

BOOM

16

07143-10304

BUSHING

17

07145-00035

SEAL,DUST

18

20R-70-11270

SPACER¤ 1.0MM

19

20N-70-11210

PIN

20

07020-00000

FITTING,GREASE

21

01010-31225

BOLT

22

01643-31232

WASHER

23

20N-70-11230

PIN

24

07020-00000

FITTING,GREASE

25

01010-31225

BOLT

26

01643-31232

WASHER

Выбрано товаров: 30