Запчасти Komatsu PC10-3 НАВЕС ОСНОВНАЯ РАМА И КАБИНА

Схема запчастей Komatsu PC10-3 - НАВЕС ОСНОВНАЯ РАМА И КАБИНА
FIT
1:1
100%

Артикул

Название

Примечание

Количество

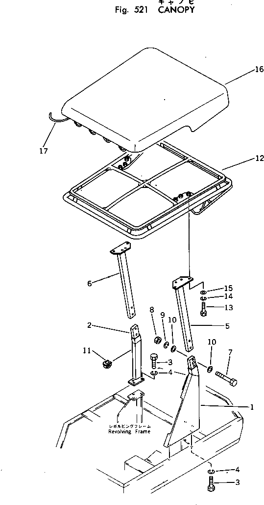
1

20N-54-35110

BRACKET,L.H.

2

20N-54-35130

BRACKET,R.H.

3

01010-51230

BOLT

4

01602-21236

WASHER,SPRING

5

20N-54-35120

BRACKET,L.H.

6

20N-54-35140

BRACKET,R.H.

7

01010-51250

BOLT

8

01580-11210

NUT

9

01602-21236

WASHER,SPRING

10

01643-31232

WASHER

11

20N-54-25210

SEAL

12

20R-54-22112

ROOF

13

01010-51025

BOLT

14

01602-21030

WASHER,SPRING

15

01643-31032

WASHER

16

20M-54-13180

SEAT

17

20R-54-22130

ROPE

Выбрано товаров: 17