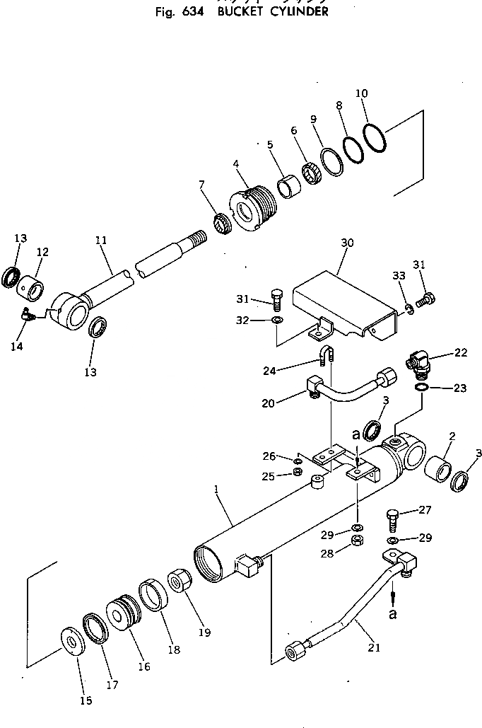
Запчасти Komatsu PC10-3 ЦИЛИНДР КОВША ГИДРАВЛИКА

Схема запчастей Komatsu PC10-3 - ЦИЛИНДР КОВША ГИДРАВЛИКА
FIT
1:1
100%

Артикул

Название

Примечание

Количество

|1

20N-63-76300

CYLINDER ASS'Y

1

20N-63-76340

CYLINDER

2

07143-10303

BUSHING

3

07145-00030

SEAL,DUST

4

707-29-60310

HEAD,CYLINDER

5

07177-03025

BUSHING

6

707-51-30210

PACKING,ROD

7

707-56-30310

SEAL,DUST

8

07000-12055

O-RING

9

07001-02055

RING,BACK-UP

10

07000-12060

O-RING

11

20N-63-76320

ROD

12

07144-10303

BUSHING

13

07145-00030

SEAL,DUST

14

07020-00900

FITTING,GREASE

15

707-40-50080

RETAINER

16

707-36-60310

PISTON

17

07161-10060

RING,PISTON

18

07155-00615

RING,WEAR

19

07165-12222

NUT,NYLON

20

20N-63-76180

TUBE

21

20N-63-76370

TUBE

22

07235-10315

ELBOW

23

07002-12034

O-RING

24

07283-21529

CLIP

25

01598-00809

NUT

26

01643-30823

WASHER

27

01010-51025

BOLT

28

01580-11008

NUT

29

01605-11023

WASHER

30

20N-63-76290

GUARD

31

01010-51020

BOLT

32

01643-31032

WASHER

33

01602-21030

WASHER,SPRING

Выбрано товаров: 34