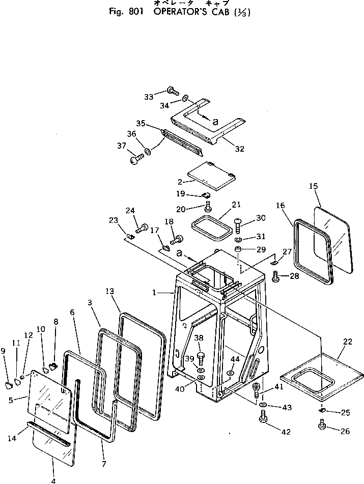
Запчасти Komatsu PC10-3 КАБИНА (/) ОПЦИОННЫЕ КОМПОНЕНТЫ

Схема запчастей Komatsu PC10-3 - КАБИНА (/) ОПЦИОННЫЕ КОМПОНЕНТЫ
FIT
1:1
100%

Артикул

Название

Примечание

Количество

|1

20N-54-39500

CAB ASS'Y

1

CAB

2

203-54-11152

DOOR

|3

20T-54-25650

SASH ASS'Y

3

SASH

4

20T-54-25670

GLASS

5

20T-54-25680

GLASS

6

20T-54-25690

STRIP,WEATHER

7

20T-54-25710

STRIP,WEATHER

8

20T-54-25720

CATCH

9

20T-54-25740

RETAINER

10

20T-54-25750

GASKET

11

20T-54-25760

GASKET

12

205-54-53270

PACKING

13

09410-40390

STRIP,WEATHER

14

20T-54-25771

SASH

15

20T-54-25260

GLASS

16

09410-40295

STRIP,WEATHER

17

203-54-11290

CATCHER

18

01220-40512

SCREW

19

203-54-11310

HOOK

20

01220-40506

SCREW

21

203-54-11190

SEAL

22

20N-54-39540

PASTE,INSIDE

23

20T-54-25390

PLATE

24

01370-00508

SCREW

25

20T-54-27520

PLATE

26

01224-40410

SCREW

27

20N-54-39550

PLATE

28

01220-40410

SCREW

29

203-54-11280

BOSS

30

01220-00416

SCREW

31

01641-20405

WASHER

32

20T-54-25640

COVER

33

01370-00508

SCREW

34

01641-20508

WASHER

35

20T-54-25290

COVER

36

01370-00408

SCREW

37

01641-20405

WASHER

38

01010-51025

BOLT

39

01602-21030

WASHER,SPRING

40

01643-31032

WASHER

41

01252-41050

BOLT

42

01010-51225

BOLT

43

01602-21236

WASHER,SPRING

44

08037-02512

GROMMET

Выбрано товаров: 46