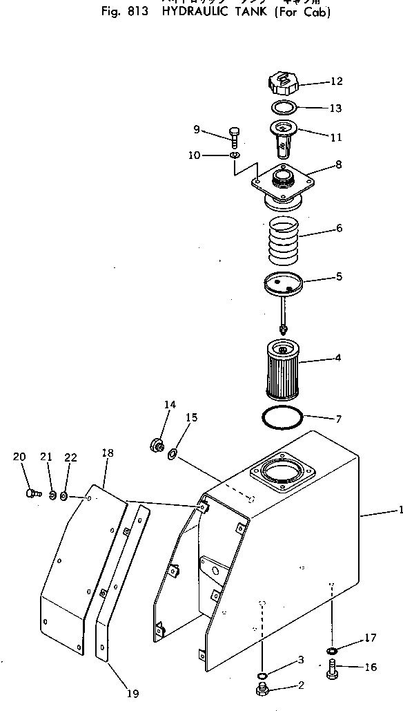
Запчасти Komatsu PC10-3 ГИДР. БАК. (ДЛЯ КАБИНЫ) ОПЦИОННЫЕ КОМПОНЕНТЫ

Схема запчастей Komatsu PC10-3 - ГИДР. БАК. (ДЛЯ КАБИНЫ) ОПЦИОННЫЕ КОМПОНЕНТЫ
FIT
1:1
100%

Артикул

Название

Примечание

Количество

|1

20N-60-00110

TANK ASS'Y

1

20N-60-21110

TANK

2

07044-12412

PLUG

3

07002-02434

O-RING

4

201-60-22150

STRAINER

5

20N-60-21130

ROD

6

154-60-12210

SPRING

7

07000-02130

O-RING

8

20N-60-11122

COVER

9

01010-51025

BOLT

10

01602-21030

WASHER,SPRING

11

07056-10045

STRAINER

12

07051-20000

CAP

13

07051-00003

GASKET

14

20N-60-11141

GAUGE,SIGHT

15

20N-60-11180

GASKET

16

01010-51225

BOLT

17

01605-11226

WASHER

18

20N-60-39150

COVER

19

20N-60-39160

PLATE

20

01010-51020

BOLT

21

01602-21030

WASHER,SPRING

22

01643-31032

WASHER

Выбрано товаров: 23