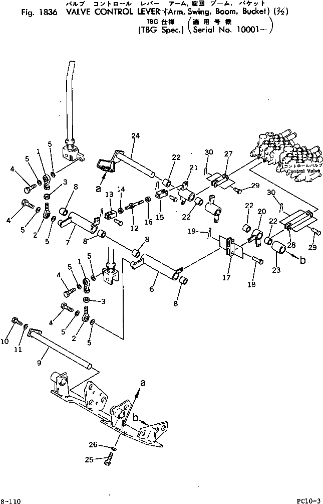
Запчасти Komatsu PC10-3 КЛАПАН РЫЧАГ УПРАВЛ-Я (РУКОЯТЬ ПОВОРОТН.¤СТРЕЛА¤КОВШ)(/)(СПЕЦ-Я TBG)(№-) ОПЦИОННЫЕ КОМПОНЕНТЫ

Схема запчастей Komatsu PC10-3 - КЛАПАН РЫЧАГ УПРАВЛ-Я (РУКОЯТЬ ПОВОРОТН.¤СТРЕЛА¤КОВШ)(/)(СПЕЦ-Я TBG)(№-) ОПЦИОННЫЕ КОМПОНЕНТЫ
FIT
1:1
100%

Артикул

Название

Примечание

Количество

1

04250-51056

END,ROD

2

04252-01061

END,ROD

3

01582-11008

NUT

4

01010-51035

BOLT

5

04254-01032

SPACER

6

20N-43-39190

LEVER

7

20N-43-31280

LEVER

8

09350-02220

BUSHING

9

20N-43-31330

SHAFT

10

01010-51020

BOLT

11

01602-21030

WASHER,SPRING

12

04248-30810

ROD

13

04210-20832

YOKE

14

01580-10806

NUT

15

04220-20832

YOKE,L.H. THREAD

16

01508-20805

NUT,L.H. THREAD

17

04213-20625

YOKE

18

04205-10618

PIN

19

04050-11610

PIN,COTTER

20

20N-43-39210

LEVER

21

20N-43-31290

LEVER

22

09350-02220

BUSHING

23

20N-43-39290

SPACER

24

20N-43-31340

SHAFT

25

01010-51030

BOLT

26

01602-21030

WASHER,SPRING

27

20N-43-31221

YOKE

28

20N-43-31181

YOKE

29

04205-10516

PIN

30

04050-11208

PIN,COTTER

Выбрано товаров: 0