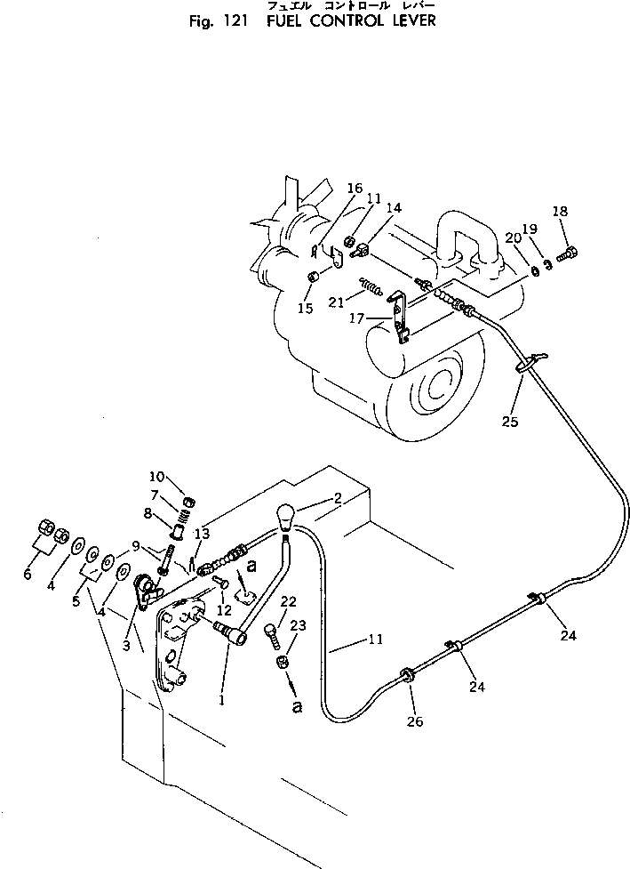
Запчасти Komatsu PC10-3 РЫЧАГ УПРАВЛ-Я ПОДАЧЕЙ ТОПЛИВА КОМПОНЕНТЫ ДВИГАТЕЛЯ И ЭЛЕКТРИКА

Схема запчастей Komatsu PC10-3 - РЫЧАГ УПРАВЛ-Я ПОДАЧЕЙ ТОПЛИВА КОМПОНЕНТЫ ДВИГАТЕЛЯ И ЭЛЕКТРИКА
FIT
1:1
100%

Артикул

Название

Примечание

Количество

1

20N-43-34110

LEVER

2

113-43-23420

KNOB

3

20N-43-34120

LEVER

4

FF8733-44530

WASHER

5

101-854-9355

SPRING

6

01583-11610

NUT

7

FF8733-44550

SPRING

8

20M-43-12210

COLLAR

9

01252-41275

BOLT

10

01580-11210

NUT

11

20N-43-34130

CABLE

12

04205-10616

PIN

13

04050-11610

PIN,COTTER

14

20N-43-24181

HOLDER

15

20N-43-24220

STOPPER

16

04052-01253

PIN,SNAP

17

20N-43-24170

BRACKET

18

01010-50625

BOLT

19

01602-20619

WASHER,SPRING

20

01643-30623

WASHER

21

20N-43-24210

SPRING

22

01016-51035

BOLT

23

01580-11008

NUT

24

08036-10814

CLIP

25

08034-00519

BAND

26

08037-02512

GROMMET

Выбрано товаров: 0