Запчасти Komatsu PC10-3 РАДИАТОР КОМПОНЕНТЫ ДВИГАТЕЛЯ И ЭЛЕКТРИКА

Схема запчастей Komatsu PC10-3 - РАДИАТОР КОМПОНЕНТЫ ДВИГАТЕЛЯ И ЭЛЕКТРИКА
FIT
1:1
100%

Артикул

Название

Примечание

Количество

|$0

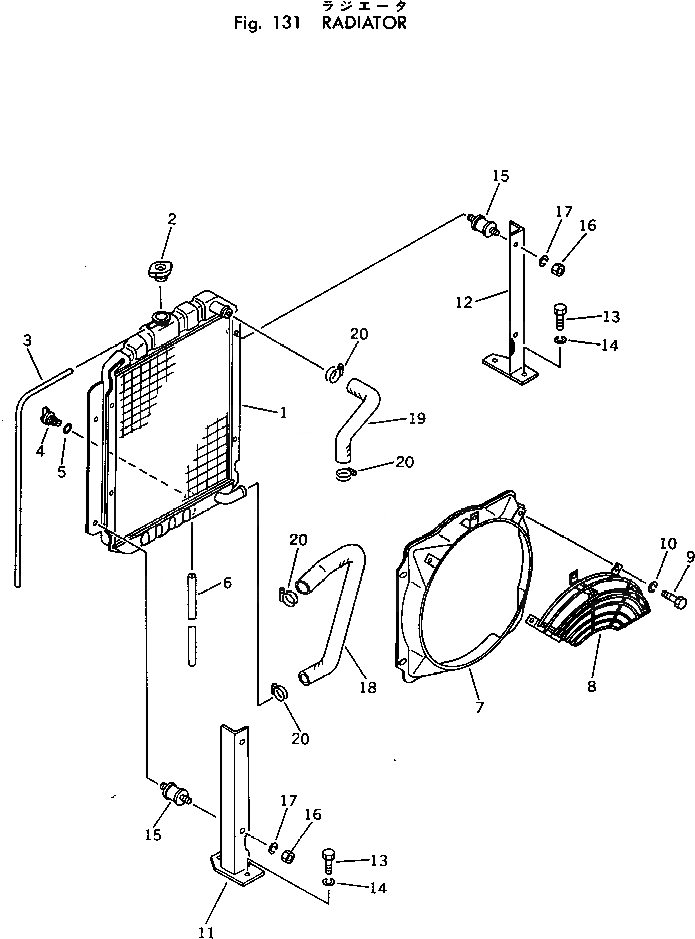
20N-03-21100

RADIATOR ASS'Y

1

20N-03-21110

RADIATOR SUB ASS'Y

2

20R-03-11220

CAP

3

07270-00870

TUBE

4

20N-03-11181

PLUG,DRAIN

5

07000-01007

O-RING

6

07270-00810

TUBE

7

20N-03-21120

SHROUD

8

20S-03-11242

NET,WIRE

9

01010-50820

BOLT

10

01602-20825

WASHER,SPRING

11

20N-03-22130

BRACKET

12

20N-03-22140

BRACKET

13

01010-51025

BOLT

14

01602-21030

WASHER,SPRING

15

20R-03-11190

CUSHION

16

01580-10806

NUT

17

01602-20825

WASHER,SPRING

18

20N-03-22120

HOSE

19

20N-03-22110

HOSE

20

07280-03826

CLAMP

Выбрано товаров: 0