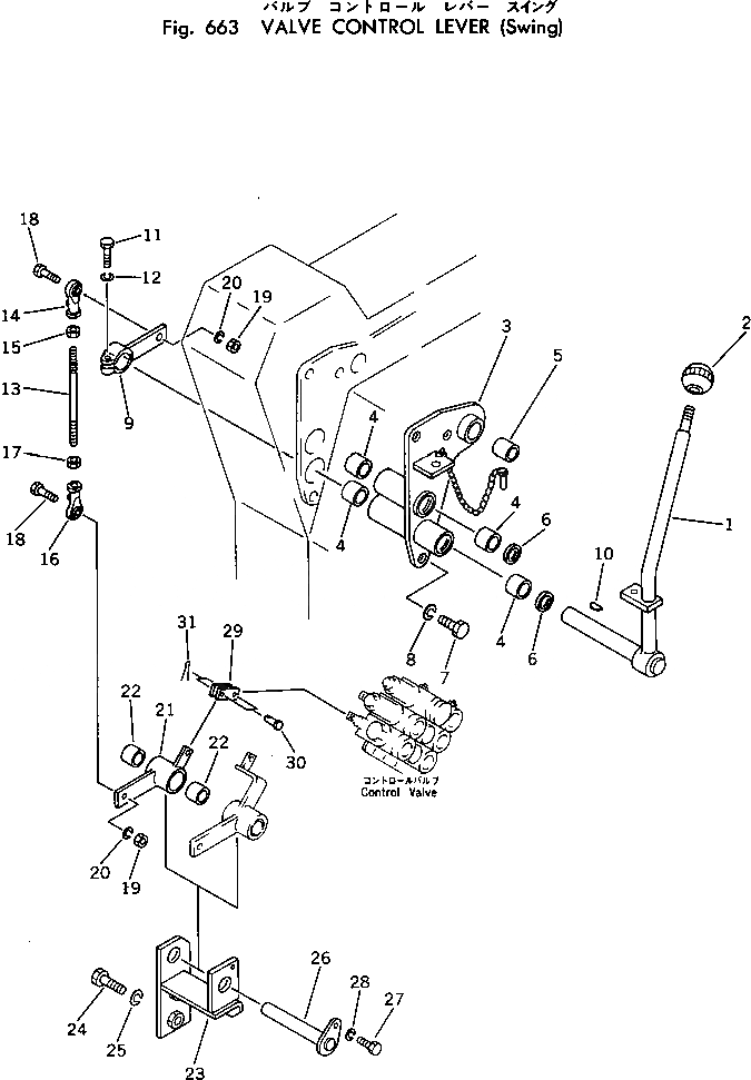
Запчасти Komatsu PC10-3 КЛАПАН РЫЧАГ УПРАВЛ-Я (ПОВОРОТН.) ГИДРАВЛИКА

Схема запчастей Komatsu PC10-3 - КЛАПАН РЫЧАГ УПРАВЛ-Я (ПОВОРОТН.) ГИДРАВЛИКА
FIT
1:1
100%

Артикул

Название

Примечание

Количество

1

20N-43-32140

LEVER

2

20R-43-11290

KNOB

3

20N-43-32110

BRACKET

4

09350-02020

BUSHING

5

20T-43-11280

BUSHING

6

06122-02004

SEAL,BEARING

7

01010-51025

BOLT

8

01602-21030

WASHER,SPRING

9

20N-43-22130

LEVER

10

04010-00519

KEY

11

01010-50830

BOLT

12

01602-20825

WASHER,SPRING

13

20N-43-22141

ROD

14

04250-40847

END,ROD

15

01580-10806

NUT

16

04250-60847

END,ROD

17

01508-20805

NUT,L.H. THREAD

18

01010-50830

BOLT

19

01580-10806

NUT

20

01602-20825

WASHER,SPRING

21

20N-43-32150

LEVER

22

09350-02015

BUSHING

23

20N-43-32160

BRACKET

24

01010-51025

BOLT

25

01602-21030

WASHER,SPRING

26

20N-43-22320

SHAFT

27

01010-50820

BOLT

28

01602-20825

WASHER,SPRING

29

04213-20520

YOKE

30

04205-10514

PIN

31

04050-11208

PIN,COTTER

Выбрано товаров: 0