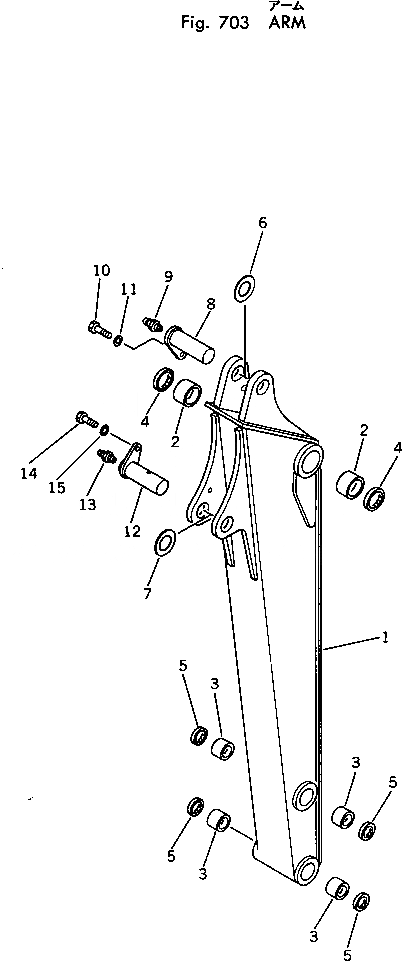
Запчасти Komatsu PC10-3 РУКОЯТЬ РАБОЧЕЕ ОБОРУДОВАНИЕ

Схема запчастей Komatsu PC10-3 - РУКОЯТЬ РАБОЧЕЕ ОБОРУДОВАНИЕ
FIT
1:1
100%

Артикул

Название

Примечание

Количество

|$0

20N-70-31200

ARM ASS'Y

1

ARM

2

07143-10304

BUSHING

3

07143-10303

BUSHING

4

07145-00035

SEAL,DUST

5

07145-00030

SEAL,DUST

6

20R-70-11270

SPACER, 1.0MM

7

20N-70-11280

SPACER, 1.0MM

8

20N-70-11230

PIN

9

07020-00000

FITTING,GREASE

10

01010-51225

BOLT

11

01643-31232

WASHER

12

20N-70-11240

PIN

13

07020-00000

FITTING,GREASE

14

01010-51225

BOLT

15

01643-31232

WASHER

Выбрано товаров: 0