Запчасти Komatsu PC10-3 КАБИНА (/) ОПЦИОННЫЕ КОМПОНЕНТЫ

Схема запчастей Komatsu PC10-3 - КАБИНА (/) ОПЦИОННЫЕ КОМПОНЕНТЫ
FIT
1:1
100%

Артикул

Название

Примечание

Количество

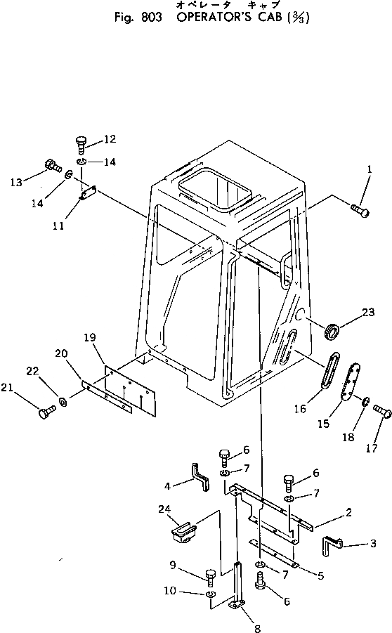
1

01220-40408

SCREW

2

20N-54-39710

PLATE

3

20N-54-39720

SEAL

4

20N-54-39730

SEAL

5

20N-54-39740

PLATE

6

01010-51020

BOLT

7

01602-21030

WASHER,SPRING

8

20N-54-39760

BRACKET

9

01010-51230

BOLT

10

01602-21236

WASHER,SPRING

11

20N-54-39770

BRACKET

12

01010-51030

BOLT

13

01010-51016

BOLT

14

01602-21030

WASHER,SPRING

15

20N-54-39671

PLATE

16

20N-54-39681

SEAT

17

01220-40516

SCREW

18

01641-20508

WASHER

19

20N-54-39641

COVER

20

20N-54-39651

PLATE

21

01010-50616

BOLT

22

01640-20610

WASHER

23

20N-54-39630

SEAL

24

20N-54-25210

SEAL

Выбрано товаров: 24