Запчасти Komatsu PC10-3 ПАНЕЛЬ ПРИБОРОВ КОМПОНЕНТЫ ДВИГАТЕЛЯ И ЭЛЕКТРИКА

Схема запчастей Komatsu PC10-3 - ПАНЕЛЬ ПРИБОРОВ КОМПОНЕНТЫ ДВИГАТЕЛЯ И ЭЛЕКТРИКА
FIT
1:1
100%

Артикул

Название

Примечание

Количество

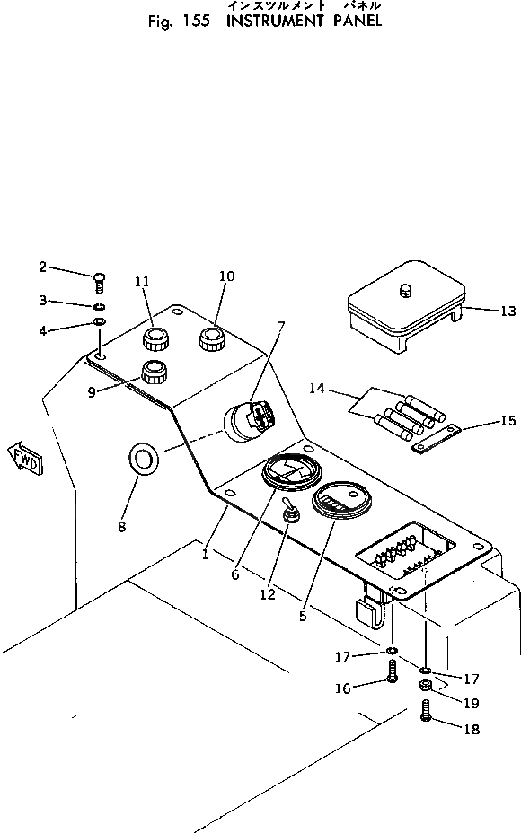
1

20N-06-31110

PANEL

2

01220-40612

SCREW

3

01602-20619

WASHER,SPRING

4

01640-20610

WASHER

5

08687-21200

METER,METER

6

130-06-B1171

GAUGE,WATER TEMPERATURE

7

201-06-21510

SWITCH

8

205-26-91140

SPACER

9

08147-21200

LAMP,OIL PRESSURE

10

08147-31200

LAMP,BATTERY CHARGE

11

08147-21201

LAMP,ENGINE THERMOSTART

12

20N-06-11120

SWITCH,LAMP

13

20R-06-22210

BOX,FUSE

14

08040-02000

FUSE, 20A

15

150-06-14290

TERMINAL

16

01220-40520

SCREW

17

01601-20513

WASHER,SPRING

18

01220-40520

SCREW

19

01580-10504

NUT

Выбрано товаров: 19