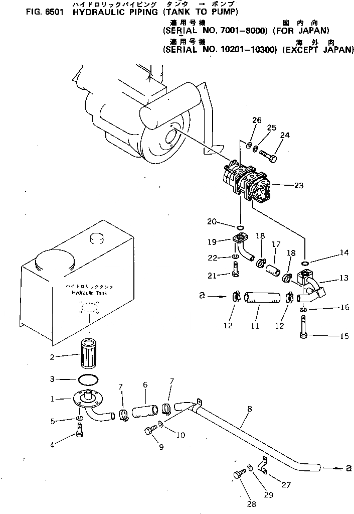
Запчасти Komatsu PC10-5 ГИДРОЛИНИЯ (ИЗ БАКА В НАСОС)(№7-8) УПРАВЛ-Е РАБОЧИМ ОБОРУДОВАНИЕМ

Схема запчастей Komatsu PC10-5 - ГИДРОЛИНИЯ (ИЗ БАКА В НАСОС)(№7-8) УПРАВЛ-Е РАБОЧИМ ОБОРУДОВАНИЕМ
FIT
1:1
100%

Артикул

Название

Примечание

Количество

1

20N-62-42121

TUBE

2

20N-62-42110

STRAINER

3

07000-02100

O-RING

4

01010-51025

BOLT

5

01602-21030

WASHER,SPRING

6

07260-23213

HOSE

7

07281-00489

CLAMP

8

20N-62-42131

TUBE

9

01010-51020

BOLT

10

01602-21030

WASHER,SPRING

11

07260-23218

HOSE

12

07281-00489

CLAMP

13

20N-62-42140

TUBE

14

07000-03032

O-RING

15

01010-51065

BOLT

16

01602-21030

WASHER,SPRING

17

20N-62-42170

HOSE

18

07281-00419

CLAMP

19

20N-62-42180

TUBE

20

07000-03032

O-RING

21

01010-51030

BOLT

22

01602-21030

WASHER,SPRING

23

705-86-14020

PUMP ASS'Y

24

01010-51030

BOLT

25

01602-21030

WASHER,SPRING

26

01643-31032

WASHER

27

07282-13411

CLAMP

28

01010-51020

BOLT

29

01602-21030

WASHER,SPRING

Выбрано товаров: 29