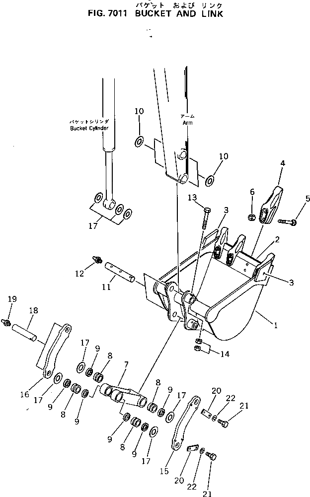
Запчасти Komatsu PC10-5 КОВШ И СОЕДИНИТЕЛЬН. ЗВЕНО РАБОЧЕЕ ОБОРУДОВАНИЕ

Схема запчастей Komatsu PC10-5 - КОВШ И СОЕДИНИТЕЛЬН. ЗВЕНО РАБОЧЕЕ ОБОРУДОВАНИЕ
FIT
1:1
100%

Артикул

Название

Примечание

Количество

1

20N-70-41311

BUCKET,450MM¤ 0.1M3

2

20N-70-41320

EDGE (WELDED)

3

20R-70-13120

CUTTER (WELDED)

4

10E-70-22211

TOOTH

5

02090-11055

BOLT

6

10E-70-22220

NUT

7

20N-70-41431

LINK

8

07143-10303

BUSHING

9

07145-00030

SEAL,DUST

10

20N-70-11280

SPACER¤ 1.0MM

11

20N-70-31130

PIN

12

07020-00000

FITTING,GREASE

13

01010-51075

BOLT

14

01580-11008

NUT

15

20N-70-41410

LINK

16

20N-70-41420

LINK

17

20N-70-11280

SPACER¤ 1.0MM

18

20N-70-31140

PIN

19

07020-00000

FITTING,GREASE

20

04082-00110

LOCK

21

01010-51020

BOLT

22

01602-21030

WASHER,SPRING

Выбрано товаров: 22