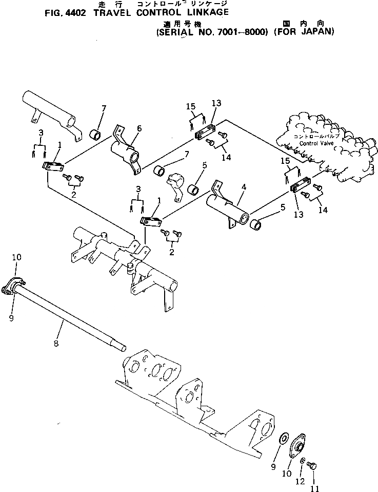
Запчасти Komatsu PC10-5 КОНТРОЛЬ ХОДА МЕХАНИЗМ(№7-8) ПОВОРОТН. И СИСТЕМА УПРАВЛЕНИЯ

Схема запчастей Komatsu PC10-5 - КОНТРОЛЬ ХОДА МЕХАНИЗМ(№7-8) ПОВОРОТН. И СИСТЕМА УПРАВЛЕНИЯ
FIT
1:1
100%

Артикул

Название

Примечание

Количество

1

20N-43-41130

YOKE

2

04205-10822

PIN

3

04050-12012

PIN,COTTER

4

20N-43-41351

LEVER

5

09350-02520

BUSHING

6

20N-43-41371

LEVER

7

09350-02520

BUSHING

8

20N-43-41221

SHAFT

9

01640-22032

WASHER

10

20N-43-41290

BEARING

11

01010-50820

BOLT

12

01602-20825

WASHER,SPRING

13

20N-43-31221

YOKE

14

04205-10516

PIN

15

04050-11208

PIN,COTTER

Выбрано товаров: 15