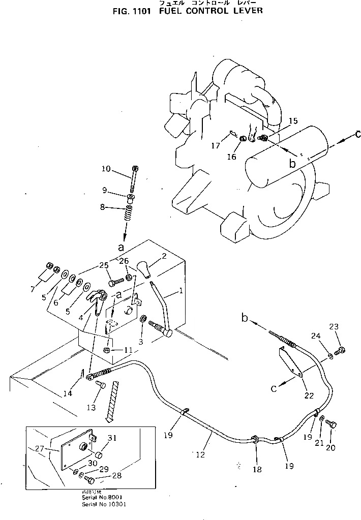
Запчасти Komatsu PC10-5 РЫЧАГ УПРАВЛ-Я ПОДАЧЕЙ ТОПЛИВА КОМПОНЕНТЫ ДВИГАТЕЛЯ И ЭЛЕКТРИКА

Схема запчастей Komatsu PC10-5 - РЫЧАГ УПРАВЛ-Я ПОДАЧЕЙ ТОПЛИВА КОМПОНЕНТЫ ДВИГАТЕЛЯ И ЭЛЕКТРИКА
FIT
1:1
100%

Артикул

Название

Примечание

Количество

1

20N-43-44110

LEVER

2

113-43-23420

KNOB

3

06122-02004

SEAL,DUST

4

20N-43-44120

LEVER

5

FF8733-44530

WASHER

6

101-854-9355

SPRING

7

01583-11610

NUT

8

FF8733-44550

SPRING

9

20M-43-12210

COLLAR

10

01252-41275

BOLT

11

01580-11210

NUT

12

20N-43-34130

CABLE

13

04205-10616

PIN

14

04050-11610

PIN,COTTER

15

20N-43-44141

HOLDER

16

20N-43-44150

STOPPER

17

04052-01253

PIN

18

08037-01610

GROMMET

19

08036-10814

CLIP

20

01010-51016

BOLT

21

01643-31032

WASHER

22

20N-43-44130

BRACKET

23

01010-50816

BOLT

24

01602-20825

WASHER,SPRING

25

01016-51035

BOLT

26

01580-11008

NUT

27

20N-43-41715

BRACKET

28

01010-50816

BOLT

29

01602-20825

WASHER,SPRING

30

01643-30823

WASHER

31

09350-02020

BUSHING

Выбрано товаров: 31