Запчасти Komatsu PC10-5 РАБОЧ. EQUIP.CONT. РЫЧАГ И МЕХАНИЗМ(/)(QUICK SHIFT)(№8-) ПОВОРОТН. И СИСТЕМА УПРАВЛЕНИЯ

Схема запчастей Komatsu PC10-5 - РАБОЧ. EQUIP.CONT. РЫЧАГ И МЕХАНИЗМ(/)(QUICK SHIFT)(№8-) ПОВОРОТН. И СИСТЕМА УПРАВЛЕНИЯ
FIT
1:1
100%

Артикул

Название

Примечание

Количество

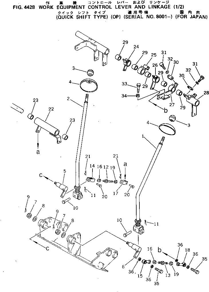
1

20N-43-43115

LEVER

2

20N-43-41415

LEVER

3

20R-43-11280

KNOB

4

20S-43-11370

COVER

5

20N-43-41445

SHAFT

6

20N-43-43125

SHAFT

7

01593-11411

NUT

8

20S-43-11390

WASHER

9

04050-13022

PIN,COTTER

10

20S-43-11410

PIN

11

04050-13020

PIN,COTTER

12

04248-30813

ROD

13

04248-30808

ROD

14

04211-20844

YOKE

15

04250-80847

END,ROD

16

01580-10806

NUT

17

04221-20844

YOKE,L.H. THREAD

18

04250-90847

END,ROD¤ L.H. THREAD

19

01508-20805

NUT,L.H. THREAD

20

04205-10822

PIN

21

04052-00833

PIN,SNAP

22

20N-43-41425

LEVER

23

09350-02520

BUSHING

|24

20N-43-05010

LEVER KIT

24

20N-43-43195

LEVER (KIT)

25

20N-43-43265

LEVER (KIT)

26

20N-43-43155

LEVER (KIT)

27

20N-43-43315

LEVER (KIT)

28

20N-43-43325

LEVER (KIT)

29

09350-02525

BUSHING (KIT)

30

20N-43-43185

PLATE

31

01010-50820

BOLT

32

01643-30823

WASHER

33

01016-50830

BOLT

34

01580-10806

NUT

35

01010-50830

BOLT

36

04254-00823

SPACER

Выбрано товаров: 0