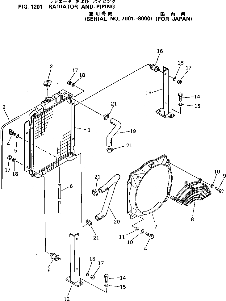
Запчасти Komatsu PC10-5 РАДИАТОР И ТРУБЫ(№7-8) КОМПОНЕНТЫ ДВИГАТЕЛЯ И ЭЛЕКТРИКА

Схема запчастей Komatsu PC10-5 - РАДИАТОР И ТРУБЫ(№7-8) КОМПОНЕНТЫ ДВИГАТЕЛЯ И ЭЛЕКТРИКА
FIT
1:1
100%

Артикул

Название

Примечание

Количество

|1

20N-03-41100

RADIATOR ASS'Y

|1

20N-03-21100

RADIATOR ASS'Y

1

20N-03-21110

RADIATOR SUB ASS'Y

2

20R-03-11220

CAP

3

07270-00870

TUBE

4

20N-03-11181

PLUG,DRAIN

5

07000-01007

O-RING

6

07270-00810

TUBE

7

20N-03-41120

SHROUD

|7

20N-03-21120

SHROUD

8

20S-03-11242

NET

9

01010-50820

BOLT

|9

01010-50820

BOLT

10

01602-20825

WASHER,SPRING

|10

01602-20825

WASHER,SPRING

11

01641-20812

WASHER

|11

01641-20812

WASHER

12

20N-03-42130

BRACKET

13

20N-03-42141

BRACKET

14

01010-51025

BOLT

15

01602-21030

WASHER,SPRING

16

20R-03-11190

CUSHION

17

01580-10806

NUT

18

01602-20825

WASHER,SPRING

19

20N-03-42110

HOSE

20

20N-03-42121

HOSE

21

07280-03826

CLAMP

Выбрано товаров: 0